EasyManua.ls Logo

Keller PA-22 PS - Menu Structure

Keller PA-22 PS
12 pages
Print Icon
To Next Page IconTo Next Page
To Next Page IconTo Next Page
To Previous Page IconTo Previous Page
To Previous Page IconTo Previous Page
Loading...
- 8 - www.keller-druck.com
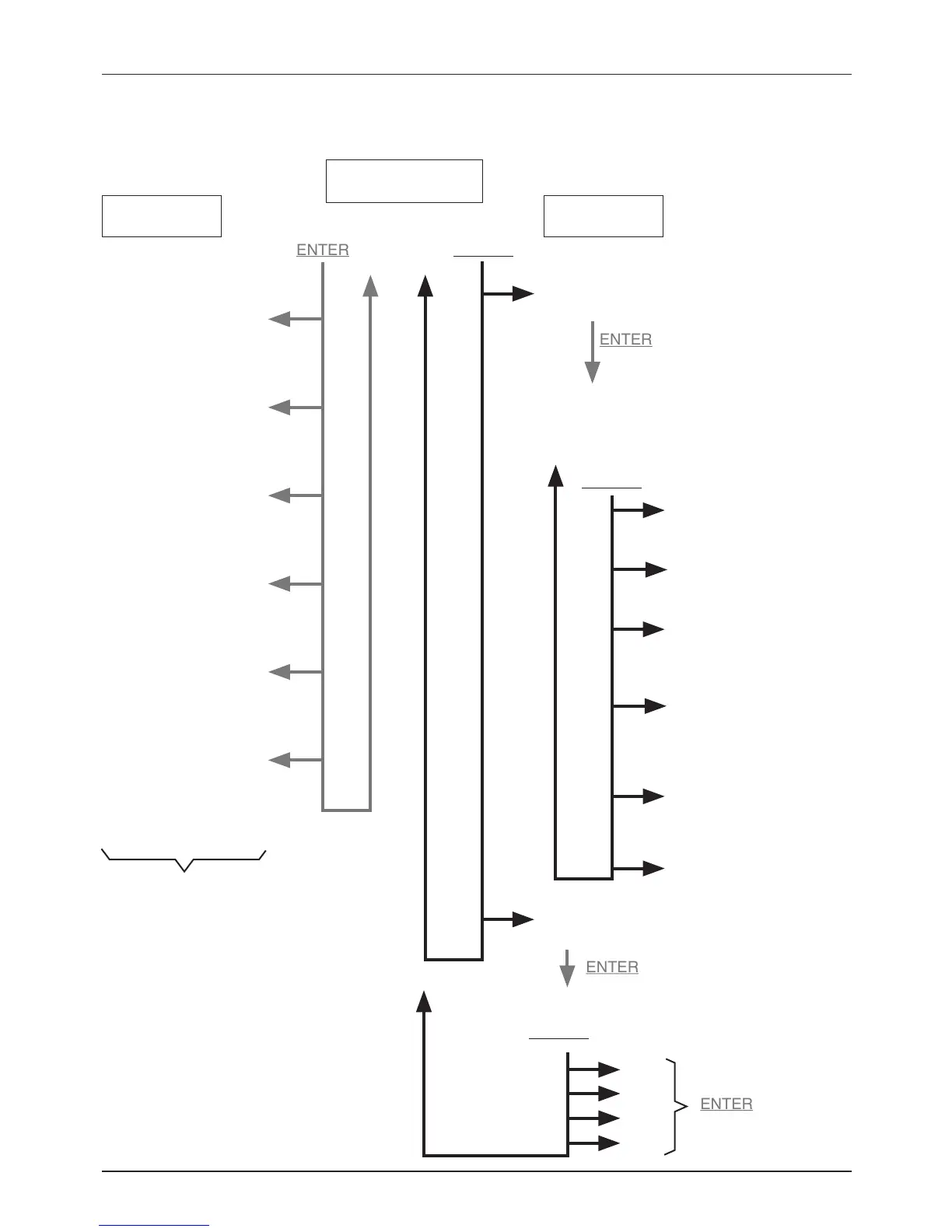
Menu Navigation
Menu structure
Switch output I:
High switching
threshold (High)
Switch output II:
Low switching
threshold (Low)
Switch output I:
Low switching
threshold (Low)
Switch output II:
High switching
threshold (High)
Switch output I:
Switching function (Fct.)
(Hysteresis / window,
NO/NC, OFF)
Switch output II:
Switching function (Fct.)
(Hysteresis / window,
NO/NC, OFF)
Switch output I:
Low switching
threshold (Low)
Switch output II:
High switching
threshold (High)
Switch output II:
Low switching
threshold (Low)
Switch output I:
Switching function (Fct.)
(Hysteresis / window,
NO/NC. OFF)
Switch output II:
Switching function (Fct.)
(Hysteresis / window,
NO/NC. OFF)
Return to Normal
Mode (END)
Change the pressure
display unit ( Unit)
bar
SELECT
Change the settings of
the switch outputs (S Set)
Programming mode
Switch output I:
High switching threshold (High)
Pressure display
(normal mode)
Show the
conguration
Change the
conguration
SELECT
ENTER
ENTER
ENTER
SELECT
MPa
PSI
mbar
kPa
The currently selected menu item is
indicated at the bottom of the display
with arrows. These point to the corre-
sponding designations:
I, II, High, Low, Fct.
ENTER
Saves the
selection