EasyManua.ls Logo

KENT BMX - HANDLEBAR STEM ASSEMBLY

KENT BMX
42 pages
Print Icon
To Next Page IconTo Next Page
To Next Page IconTo Next Page
To Previous Page IconTo Previous Page
To Previous Page IconTo Previous Page
Loading...
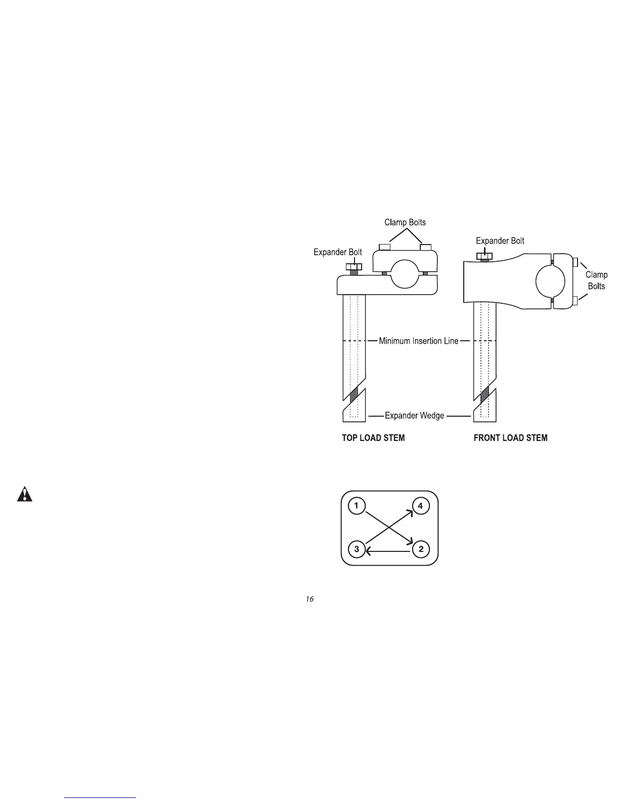
Cross Tighten Clamp
Bolts For Even Clamping
HANDLEBAR STEM
NOTE: the handlebar stem has been pre-assembled to the
handlebar at the factory.
1. Remove the packing material and rotate the handlebar into an upright
position. Slightly loosen the clamp bolts to allow the handlebar to rotate
easily. After you have acheived a comfortable handlebar position,
proceed to tighten the clamp bolts to the required torque.
2. Insert the handlebar stem into the fork tube (head of the bike) with
the clamp portion of the stem towards the front of the bike. The stem
must be inserted far enough to hide the minimum insertion line marked
on the stem. If necessary, loosen the expander bolt to allow the stem to
fit the fork tube.
3. Place a drop of oil under the head of the expander bolt. Tighten the
expander bolt just enough to hold the stem in place.
4. Raise or lower the handlebar stem until you have reached the desired
height for your child and then position the handlebar so it is perpen-
dicular (90 degrees) to the front wheel. Next, tighten the expander bolt
to the required torque. Be sure to have inserted the stem into the fork
tube at least 2 1/2” (65mm), making certain the minimum insertion line
is not visible.
WARNING! ASSEMBLER IS CAUTIONED AGAINST THE
DANGER OF DAMAGING THE HANDLEBAR STEM ASSEMBLY
AND POSSIBLE INJURY TO THE RIDER RESULTING FROM OVER
TIGHTENING THE EXPANDER BOLT AND EXPANDER WEDGE.
EXPANDER BOLT TORQUE REQUIREMENT 10-15 ft-lbs (13-20 N-m)
CLAMP BOLT TORQUE REQUIREMENT 8-11 ft-lbs (11-15 N-m)

Related product manuals