EasyManua.ls Logo

KERN DS 30K0.1 - 2 Technical Data; Kern 572

KERN DS 30K0.1
37 pages
Print Icon
To Next Page IconTo Next Page
To Next Page IconTo Next Page
To Previous Page IconTo Previous Page
To Previous Page IconTo Previous Page
Loading...
572/573/KB/DS/FKB/FCB/PCB-BA-e-0957
4
2 Technical data
2.1 KERN 572
KERN 572-30 572-31 572-32 572-33
Readability (d) 0.001 g 0.001 g 0.001 g 0.01 g
Weighing range (max) 241 g 301 g 421 g 1610 g
Taring range (subtractive) 241 g 301 g 421 g 1610 g
Reproducibility 0.001 g 0.001 g 0.001 g 0.01g
Linearity ± 0.003 g ± 0.005 g ± 0.005 g ± 0.03 g
Smallest piece weight 0.001 g 0.001 g 0.001 g 0.01 g
Adjustment points 50/100/
200/240 g
50/100/
200/300 g
100/200/
300/400 g
0.5/1.0/
1.5/1.6 kg
Recommended adjusting
weight F1 (not supplied)
200 g 200 g +100 g 200 g + 200 g 1 kg + 500 g
Humidity of air max. 80% rel. (non-condensing)
Stabilization time (typical) 3 sec.
Permitted environmental
temperature
+10 °C ... + 40 °C
Housing (B x D x H) mm 180 x 310 x 90
Vibration filter yes
Weighing plate stainless
steel mm
Ø 106 Ø 106 Ø 106 Ø 150
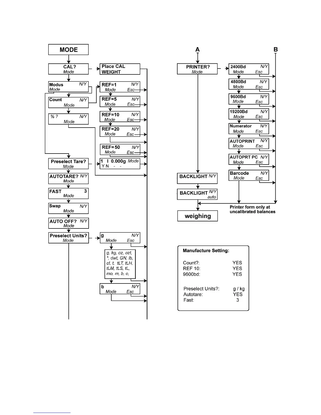
Units see menu
Weight kg (net) 2.3 2.3 2.3 2.3
Data interface yes (RS232)

Related product manuals