EasyManua.ls Logo

KERN KB 6500-1NM - 1 Mode - Menue

KERN KB 6500-1NM
37 pages
Print Icon
To Next Page IconTo Next Page
To Next Page IconTo Next Page
To Previous Page IconTo Previous Page
To Previous Page IconTo Previous Page
Loading...
572/573/KB/DS/FKB/FCB-BA-e-0957
3
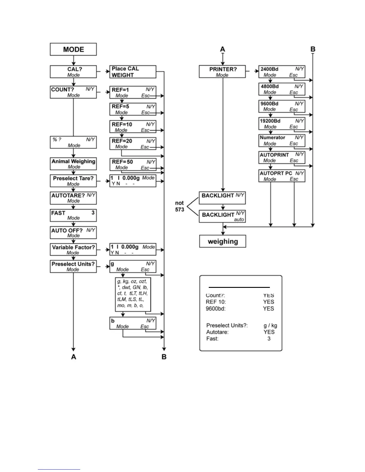
1 MODE - MENUE
Important!
The modified settings - as well as the adjustment - must be stored when switching-off,
via the ON/OFF button.
Manufacture Setting:

Related product manuals