EasyManua.ls Logo

Keyence FS-V21 - Making Sensitivity Settings; Full Auto Calibration; Manual Calibration; Two-Point Calibration

Default Icon
4 pages
Print Icon
To Next Page IconTo Next Page
To Next Page IconTo Next Page
To Previous Page IconTo Previous Page
To Previous Page IconTo Previous Page
Loading...
2
Manual Calibration
In this mode, make manual PV settings.
PV
The PV value decreases by pressing
this side of the manual button.
The PV value increases
by pressing this side of
the manual button.
Positioning Calibration
In this mode, a workpiece will be detected when the front edge of the
workpiece has reached a preset position.
1) Press the set button for a moment without the workpiece in the sens-
ing area (i.e., in front of the fiber unit).
2) Locate the front edge of the workpiece in the sensing area. Then
press the set button for a minimum of three seconds.
3 s min.
Workpiece
The display will flash
for a moment when
the setting is
finished. Then the
PV will be displayed.
Front edge
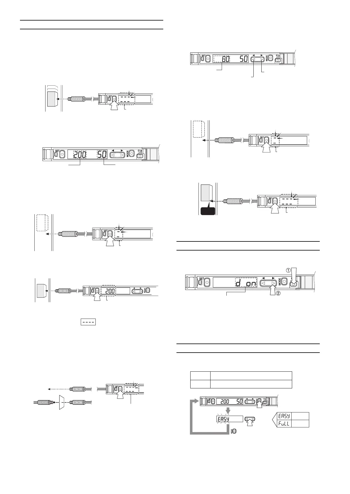
7. Selecting Output
Either light-ON mode or dark-ON mode is selectable.
Press the output selector.
The display indicates that
the sensor is in dark-ON
mode. The CV will be
displayed if no buttons are
operated for approximately
five seconds.
Press the manual button
within five seconds after
pressing the output
selector
.
•Take the same steps to set the sensor to light-ON mode again.
8. User-friendly Functions
Access Mode Selection
Two modes are available to the display of values and menu items.
EASY Only basic functions are displayed.
FULL All available functions are displayed.
EASY
FULL
Press 3 s min.
Press 3 s min.
Completion
of selection
Select
The mode is set to EASY before shipping.
6. Making Sensitivity Settings
Full Auto Calibration
In this mode, the PV will be set to the mean value of the maximum and
minimum incident values obtained within a certain period.
Use this mode to detect moving workpieces.
1) Press the set button for a minimum of three seconds while the target
workpiece is passing the sensing area of the fiber unit.
While the set button is pressed, the sensitivity of the sensor will
be set according to the incident values.
3 s min.
Workpiece
The display will
flash when the
settings are
completed.
When the setting is finished, the digital monitor will display the PV
in green.
PV (green)
CV (red)
Two-point Calibration
In this mode, the PV used will be the mean value of two sensing values
obtained with and without a workpiece.
1) Press the set button for a moment without the workpiece in the sens-
ing area (i.e., in front of the fiber unit).
2) Locate the workpiece in the sensing area (i.e., in front of the fiber unit).
Then press the set button for a moment.
Workpiece
The PV will appear when
the settings are completed.
* If there is extremely little difference in sensitivity between the sens-
ing values, the display will flash on completion of tuning.
Maximum Sensitivity Setting
If the sensing performance of the sensor drops due to dust or dirt, set
the sensitivity of the sensor to maximum.
1) Press the set button without a workpiece if the fiber unit is a reflec-
tive model. Press the set button with a workpiece if the fiber unit is a
through-beam model. In both cases, press the set button for a mini-
mum of three seconds.
3 s min.
The display will flash
for a moment when
the setting is finished.
Then the PV will be
displayed.
Reflective model
Through-beam model
* If the sensing distance is insufficient, make sensitivity settings in the
sensor in two-point tuning mode.

Related product manuals