EasyManua.ls Logo

keylitos PD8-KDE - PRODUCT STRUCTURE; CONTROL PANEL DESCRIPTION

keylitos PD8-KDE
18 pages
Print Icon
To Next Page IconTo Next Page
To Next Page IconTo Next Page
To Previous Page IconTo Previous Page
To Previous Page IconTo Previous Page
Loading...
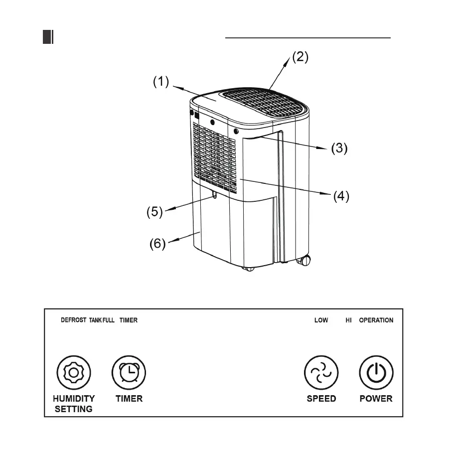
CONTROL PANEL DESCRIPTION
PRODUCT STRUCTURE
05
1. Control panel
2. Air outlet
3. Handle
4. Housing
5. Drain hole
6. Water tank

Related product manuals