EasyManua.ls Logo

KitchenAid KBFN402ESS - Page 41

KitchenAid KBFN402ESS
72 pages
Print Icon
To Next Page IconTo Next Page
To Next Page IconTo Next Page
To Previous Page IconTo Previous Page
To Previous Page IconTo Previous Page
Loading...
41
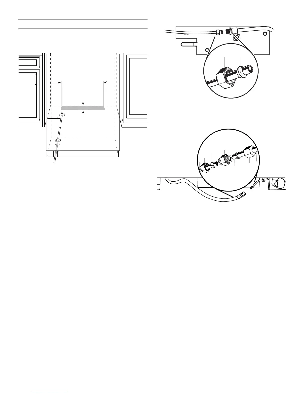
Conexión al refrigerador
Piezas suministradas
Acoplamiento macho a macho, de⁰¹⁄₄" a ¹⁄₄" (6,35 mm
a 6,35 mm)
NOTA: La línea flexible de suministro de agua aprobada según
los códigos debe conectarse a la válvula de suministro a través
del piso.
1. Desenchufe el refrigerador o desconecte el suministro de
energía.
2. Conecte el tubo flexible de agua de 7 pies (2,13 m), aprobado
según los códigos, a la válvula de suministro de agua.
3. Enjuague la línea principal de suministro de agua para quitar
las partículas y el aire de la misma. Deje correr bastante agua
para que ésta se vea cristalina.
4. Pegue con cinta al piso la línea flexible de suministro de agua
de 7 pies (2,13 m) aprobada según los códigos, a 7"
(17,78 cm) del lado izquierdo del refrigerador. Pegue con
cinta a lo largo de la longitud de la tubería, lo que permitirá
que ésta pase por debajo del refrigerador, sin hacer
interferencia.
NOTA: Deje un mínimo de 26" (66,04 cm) de línea flexible de
suministro de agua aprobada según los códigos para que
quede floja en la parte frontal del refrigerador, para conectarla
al mismo.
5. Conecte la línea flexible de suministro de agua de 7 pies
(2,13 m), aprobada según los códigos, al refrigerador.
NOTA: Si la válvula principal de cierre de agua está detrás
del refrigerador, puede instalarse una válvula secundaria de
cierre de agua alineada con la línea de suministro de agua,
al frente del producto.
Acoplamiento sobremoldeado (en algunos modelos)
Acoplamiento discreto (en algunos modelos)
6. Abra la válvula de suministro de agua y verifique todas las
conexiones para ver si hay fugas.
1"
(2,54 cm)
7"
(17,78 cm)
6"
(15,2 cm)
6"
(15,2 cm)
A. Línea de agua de la casa
B. Tuerca (adquirida)
C. Férula (adquirida)
A. Línea de agua de la casa
B. Tuerca (adquirida)
C. Férula (adquirida)
D. Acoplamiento
E. Bulbo
F. Tuerca
G. Tubería de agua del
refrigerador
AB C
A
B
C
D
E
F
G

Table of Contents

Related product manuals