EasyManua.ls Logo

KitchenAid KBFN402ESS - Page 65

KitchenAid KBFN402ESS
72 pages
Print Icon
To Next Page IconTo Next Page
To Next Page IconTo Next Page
To Previous Page IconTo Previous Page
To Previous Page IconTo Previous Page
Loading...
65
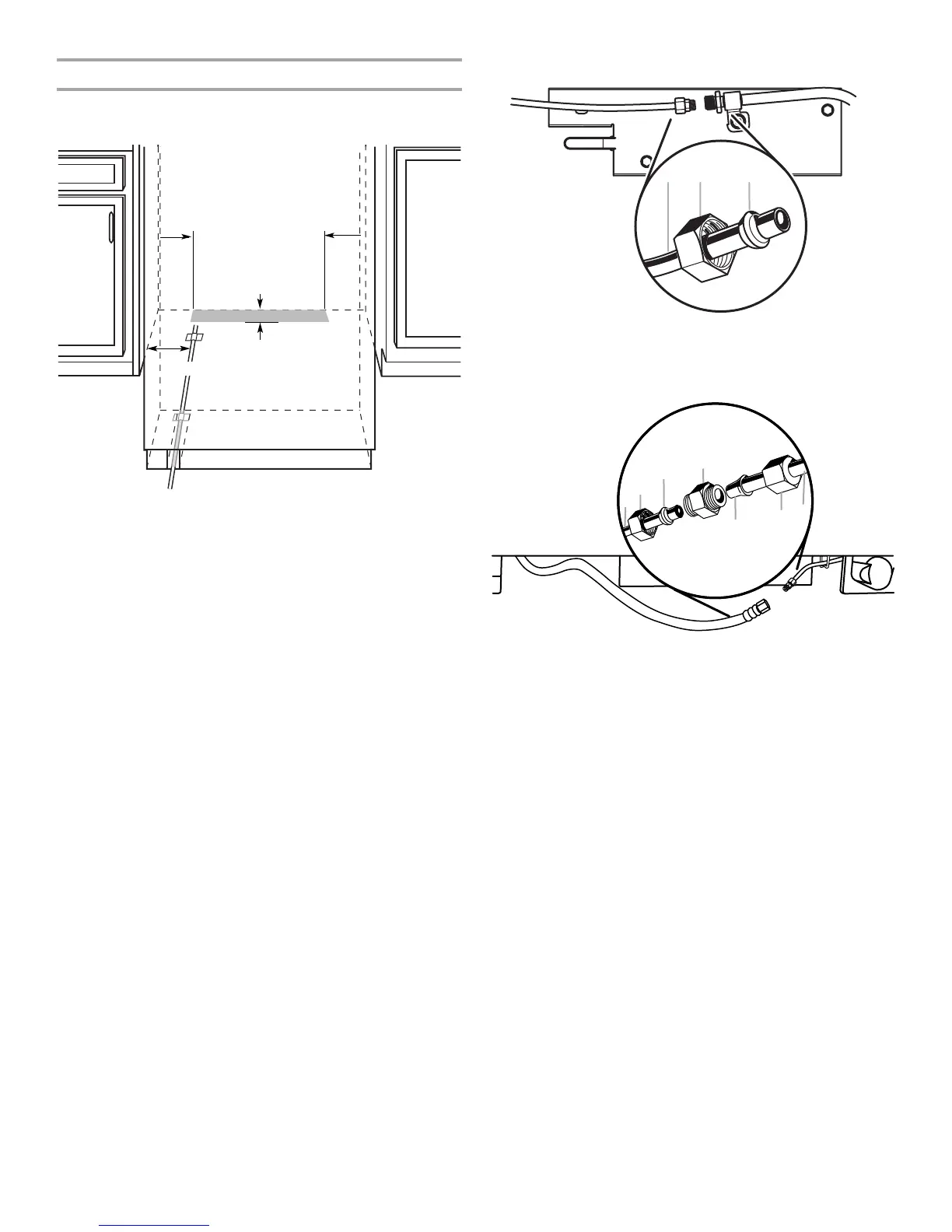
Raccordement au réfrigérateur
Pièces fournies
Raccord mâle-mâle ¹⁄₄" — ¹⁄₄" (6,35 mm — 6,35 mm)
REMARQUE : La canalisation flexible d’alimentation en eau
approuvée par les codes en vigueur doit être raccordée au
robinet d’alimentation en eau par le plancher.
1. Débrancher le réfrigérateur ou déconnecter la source de
courant électrique.
2. Raccorder le tube flexible de 7 pi (2,13 m) approuvé par les
codes en vigueur au robinet d’alimentation en eau.
3. Rincer la canalisation d’alimentation en eau principale pour
éliminer les particules et l’air présents dans la canalisation
d’eau. Laisser s’écouler une quantité d’eau suffisante,
jusqu’à ce qu’elle soit limpide.
4. Avec du ruban adhésif, fixer la canalisation flexible
d’alimentation en eau approuvée par les codes en vigueur de
7 pi (2,13 m) au plancher, à 7" (17,78 cm) du côté gauche du
réfrigérateur. La fixer le long du tube avec du ruban adhésif;
ceci lui permet ainsi de passer sous le réfrigérateur sans
rencontrer d’obstacle.
REMARQUE : Laisser pendre un minimum de 26" (66,04 cm)
de la canalisation flexible d’alimentation en eau approuvée
par les codes en vigueur à l’avant du réfrigérateur pour le
raccordement au réfrigérateur.
5. Raccorder la canalisation flexible d’alimentation en eau
approuvée par les codes en vigueur de 7 pi (2,13 m) au
réfrigérateur.
REMARQUE : Si le robinet d’arrêt principal se trouve derrière
le réfrigérateur, un deuxième robinet d’arrêt peut être installé
en ligne directe avec la canalisation d’alimentation en eau, à
l’avant du produit.
Raccord par dessus le surmoulage (sur certains modèles)
Raccord discret (sur certains modèles)
6. Ouvrir l’alimentation en eau et inspecter tous les raccords
pour identifier toute fuite éventuelle.
1"
(2,54 cm)
7"
(17,78 cm)
6"
(15,2 cm)
6"
(15,2 cm)
A.Canalisation d’eau du domicile
B.Écrou (à acheter)
C.Virole (à acheter)
A. Canalisation du
domicile
B. Écrou (à acheter)
C. Virole (à acheter)
D. Raccord
E. Renflement
F. Éc ro u
G. Tuyau d’eau du réfrigérateur
AB C
A
B
C
D
E
F
G

Table of Contents

Related product manuals