EasyManua.ls Logo

KitchenAid KBLC36FKB01 - Icemaker Parts

KitchenAid KBLC36FKB01
18 pages
Print Icon
To Next Page IconTo Next Page
To Next Page IconTo Next Page
To Previous Page IconTo Previous Page
To Previous Page IconTo Previous Page
Loading...
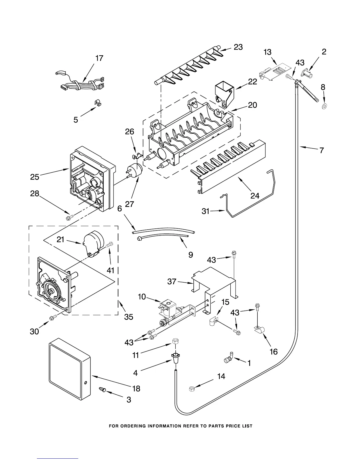
ICEMAKER PARTS
17
For Models: KBLC36FKB01, KBLC36FKS01
(Black) (Stainless Steel)
8198079

Related product manuals