EasyManua.ls Logo

KitchenAid KBLC36MHB01 - Icemaker Parts

KitchenAid KBLC36MHB01
20 pages
Print Icon
To Next Page IconTo Next Page
To Next Page IconTo Next Page
To Previous Page IconTo Previous Page
To Previous Page IconTo Previous Page
Loading...
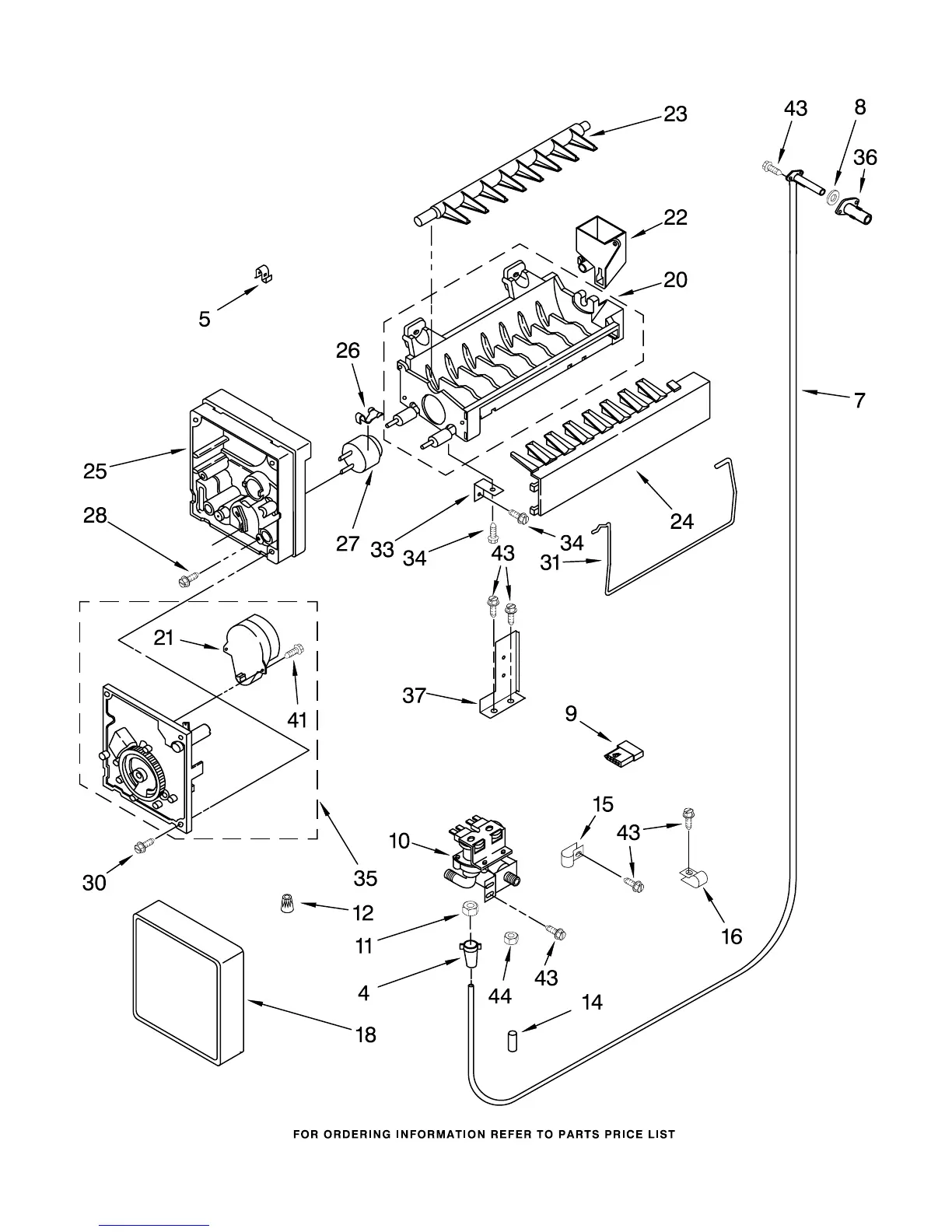
ICEMAKER PARTS
19
For Model: KBLC36MHB01, KBLC36MHT01, KBLC36MHW01
(Black) (Biscuit) (White)
4398948

Other manuals for KitchenAid KBLC36MHB01

Related product manuals