EasyManua.ls Logo

KitchenAid KFCO22EVBL00 - Ice Maker Parts

KitchenAid KFCO22EVBL00
16 pages
Print Icon
To Next Page IconTo Next Page
To Next Page IconTo Next Page
To Previous Page IconTo Previous Page
To Previous Page IconTo Previous Page
Loading...
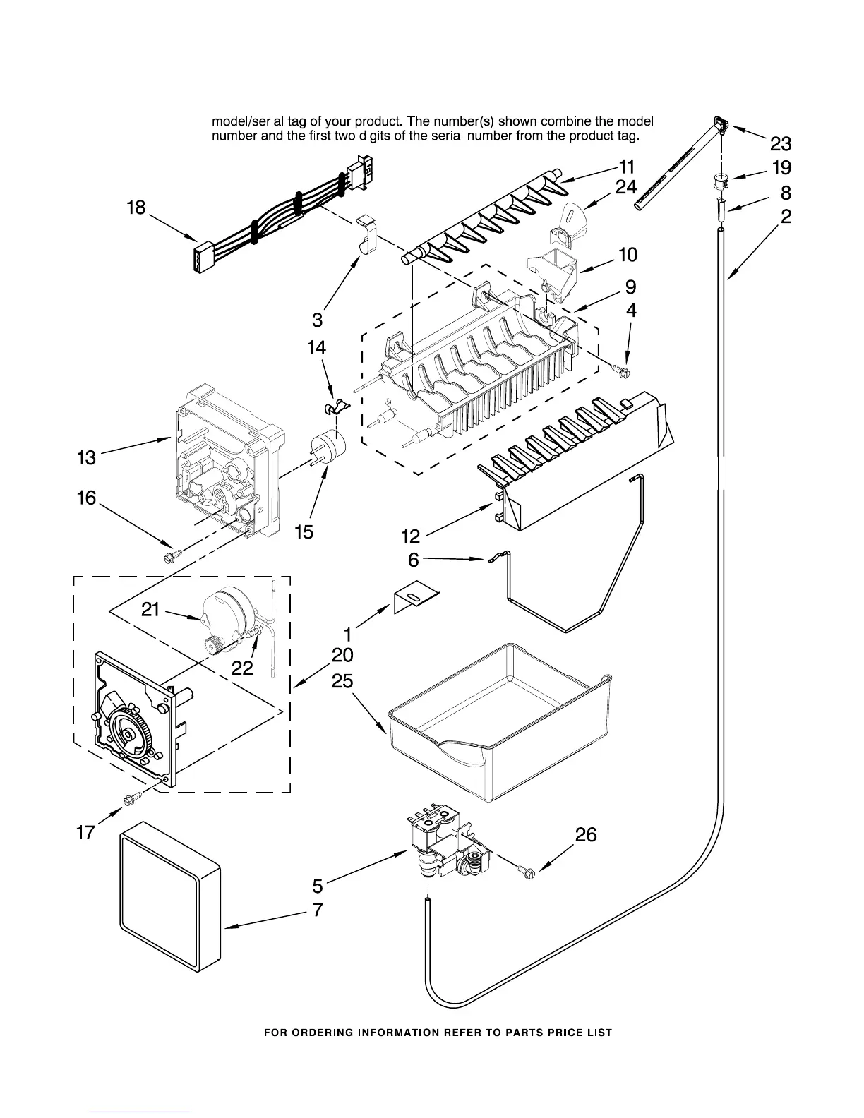
ICEMAKER PARTS
13
For Models: KFCO22EVBL00
(Black Overlay)
The model(s) number shown may be different than what is printed on the
W10217727

Related product manuals