EasyManua.ls Logo

Klarstein VINSIDER 41D - Öffnungsrichtung der Tür Ändern

Klarstein VINSIDER 41D
Print Icon
To Next Page IconTo Next Page
To Next Page IconTo Next Page
To Previous Page IconTo Previous Page
To Previous Page IconTo Previous Page
Loading...
10
DE
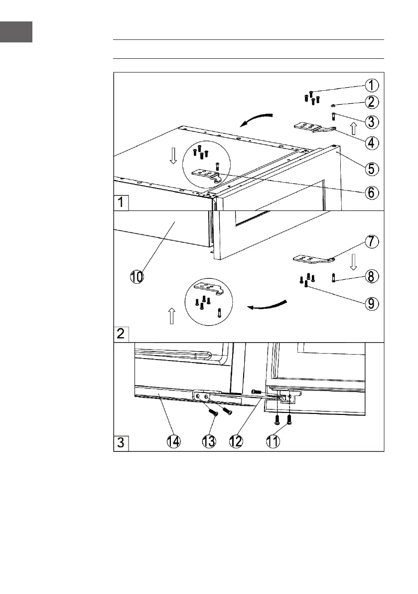
ÖFFNUNGSRICHTUNG DER TÜR ÄNDERN

Related product manuals