EasyManua.ls Logo

Klarstein VINSIDER 41D - Modificare Il Lato DI Apertura Dello Sportello

Klarstein VINSIDER 41D
Print Icon
To Next Page IconTo Next Page
To Next Page IconTo Next Page
To Previous Page IconTo Previous Page
To Previous Page IconTo Previous Page
Loading...
84
IT
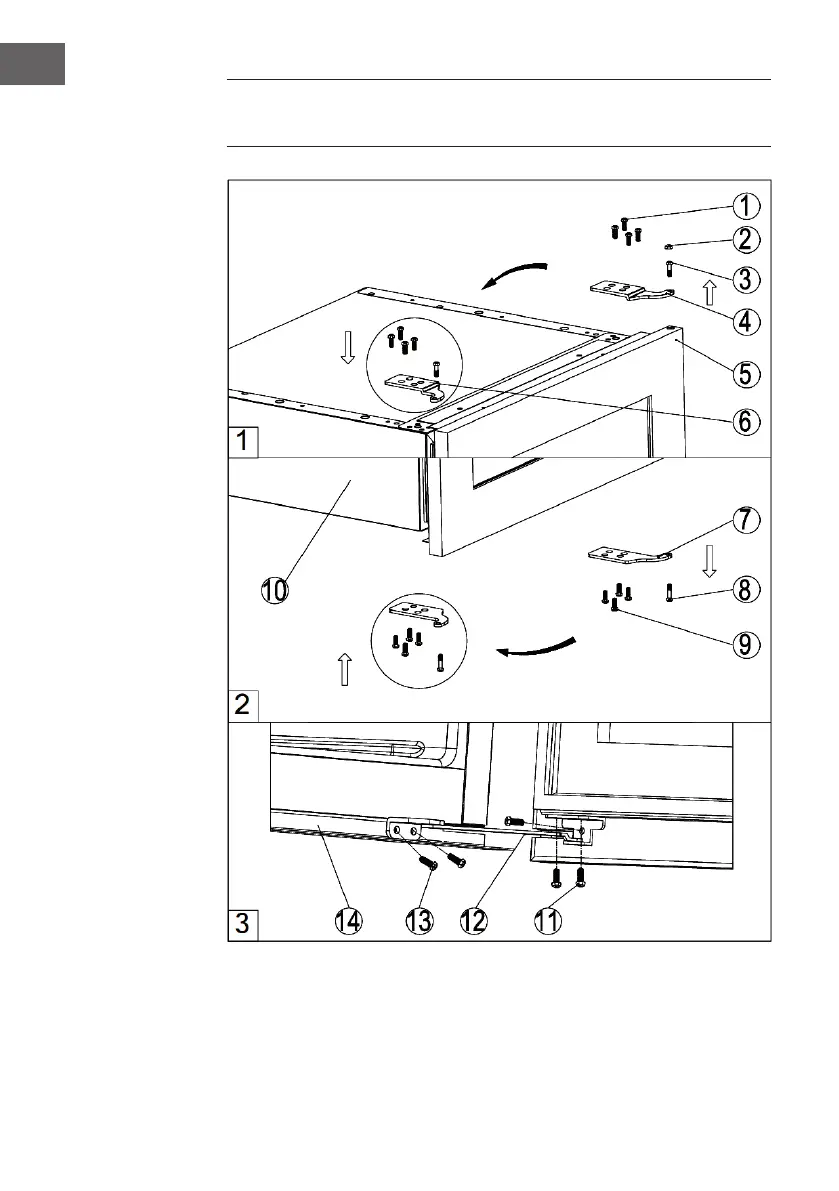
MODIFICARE IL LATO DI APERTURA DELLO
SPORTELLO

Related product manuals