EasyManua.ls Logo

Kohler 40EKOZD

Kohler 40EKOZD
84 pages
To Next Page IconTo Next Page
To Next Page IconTo Next Page
To Previous Page IconTo Previous Page
To Previous Page IconTo Previous Page
Loading...
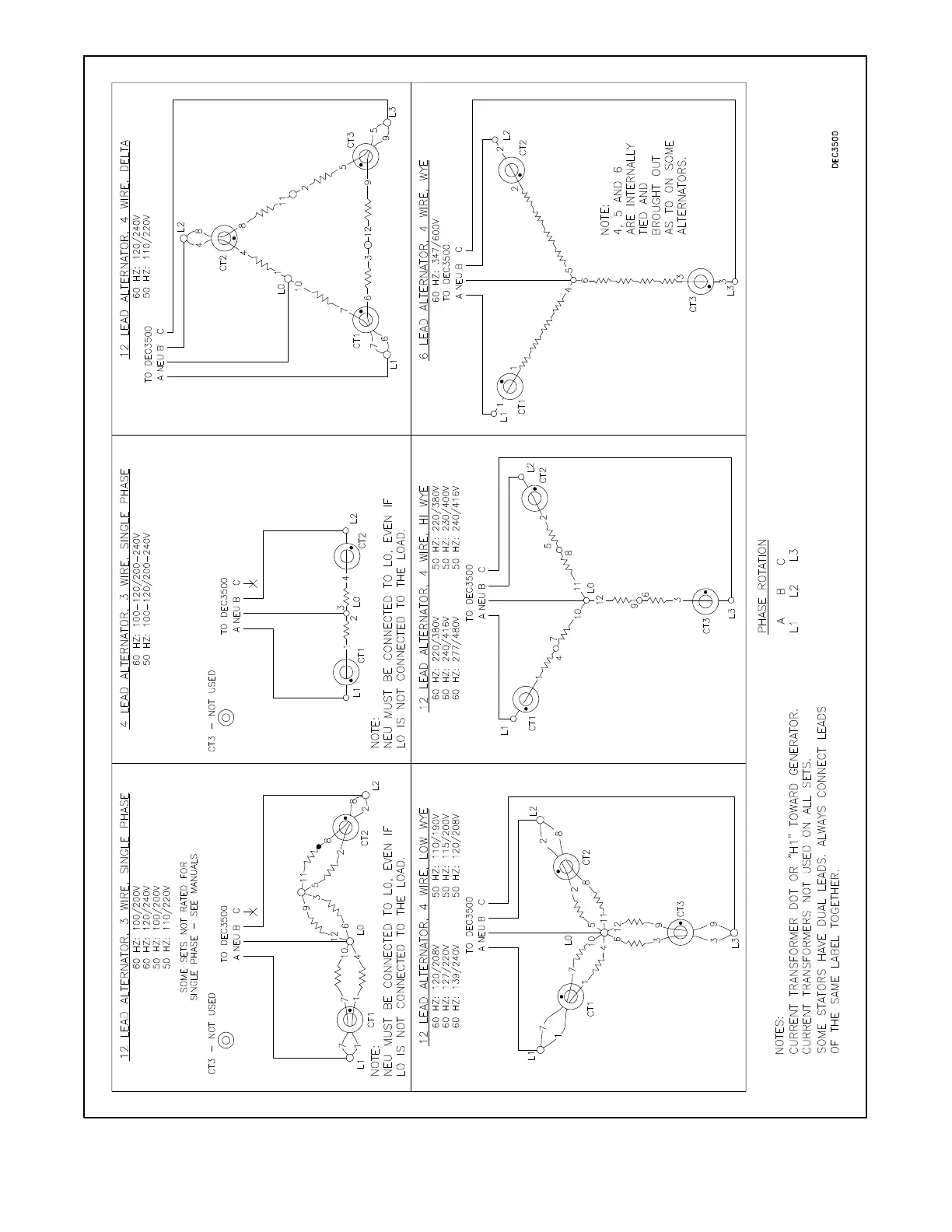
TP-7045 3/18c54 Section 8 Reconnection
Figure 8-3 Generator Reconnection (ADV-5875F-U)

Table of Contents

Other manuals for Kohler 40EKOZD

Related product manuals