EasyManua.ls Logo

Kohler COMMAND CV17-745 - Page 8

Kohler COMMAND CV17-745
199 pages
Print Icon
To Next Page IconTo Next Page
To Next Page IconTo Next Page
To Previous Page IconTo Previous Page
To Previous Page IconTo Previous Page
Loading...
1.6
Section 1
Safety and General Information
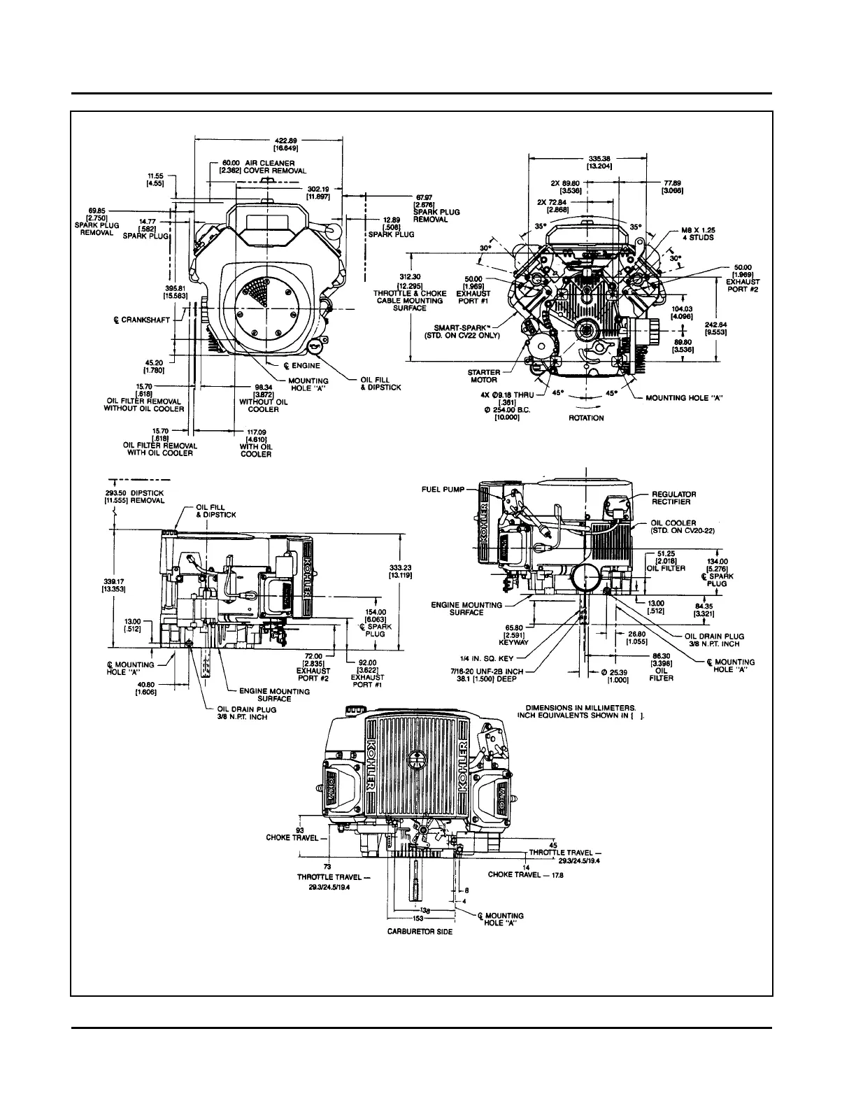
Figure 1-4. Typical Engine Dimensions CV Series with Standard Flat Air Cleaner.
(Base engine illustrated)
Kohler Engine Parts Call K&T 606-678-9623 or 606-561-4983
www.mymowerparts.com

Related product manuals