EasyManua.ls Logo

Komatsu PC240LC - 10 General View; General View of Machine

Komatsu PC240LC
266 pages
Print Icon
To Next Page IconTo Next Page
To Next Page IconTo Next Page
To Previous Page IconTo Previous Page
To Previous Page IconTo Previous Page
Loading...
2-2
PC210/240-ENG
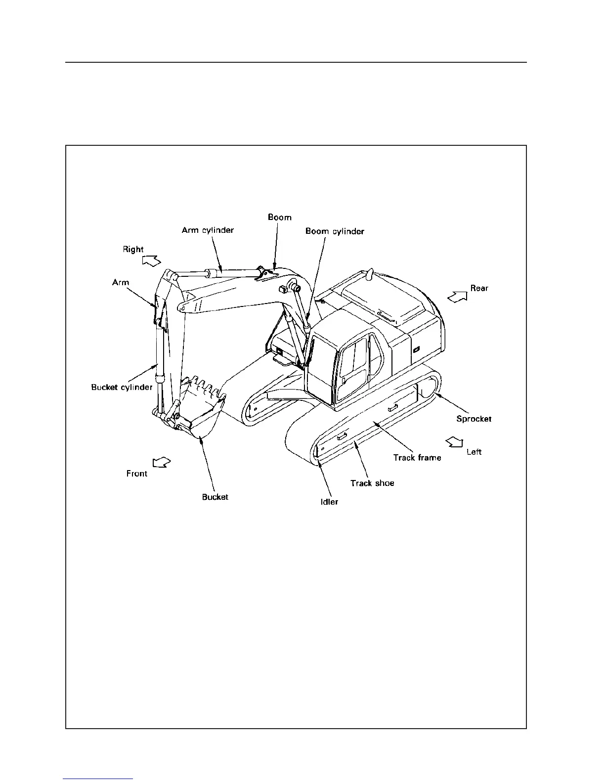
10.1 GENERAL VIEW OF MACHINE
If directions are indicated in this section, the refer to the directions shown by in the arrows in the diagram
below.
10. GENERAL VIEW

Table of Contents

Related product manuals