EasyManua.ls Logo

Koolbreeze Climateasy 14 - Control Panel and Operating Modes; Control Panel Layout; Operation Display Icons

Koolbreeze Climateasy 14
16 pages
Print Icon
To Next Page IconTo Next Page
To Next Page IconTo Next Page
To Previous Page IconTo Previous Page
To Previous Page IconTo Previous Page
Loading...
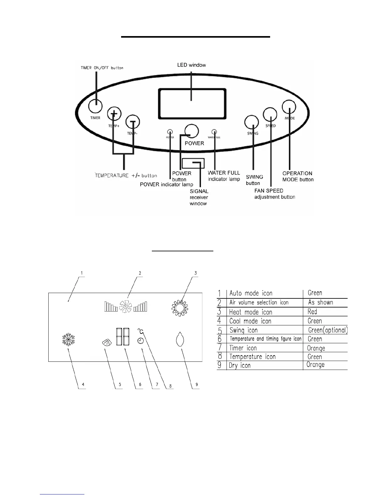
Appearance and Function of Control Panel
Operation Display
AUTO
Page 8

Related product manuals