EasyManua.ls Logo

Kranzle K115 - Wiring Diagram

Kranzle K115
40 pages
Print Icon
To Next Page IconTo Next Page
To Next Page IconTo Next Page
To Previous Page IconTo Previous Page
To Previous Page IconTo Previous Page
Loading...
35
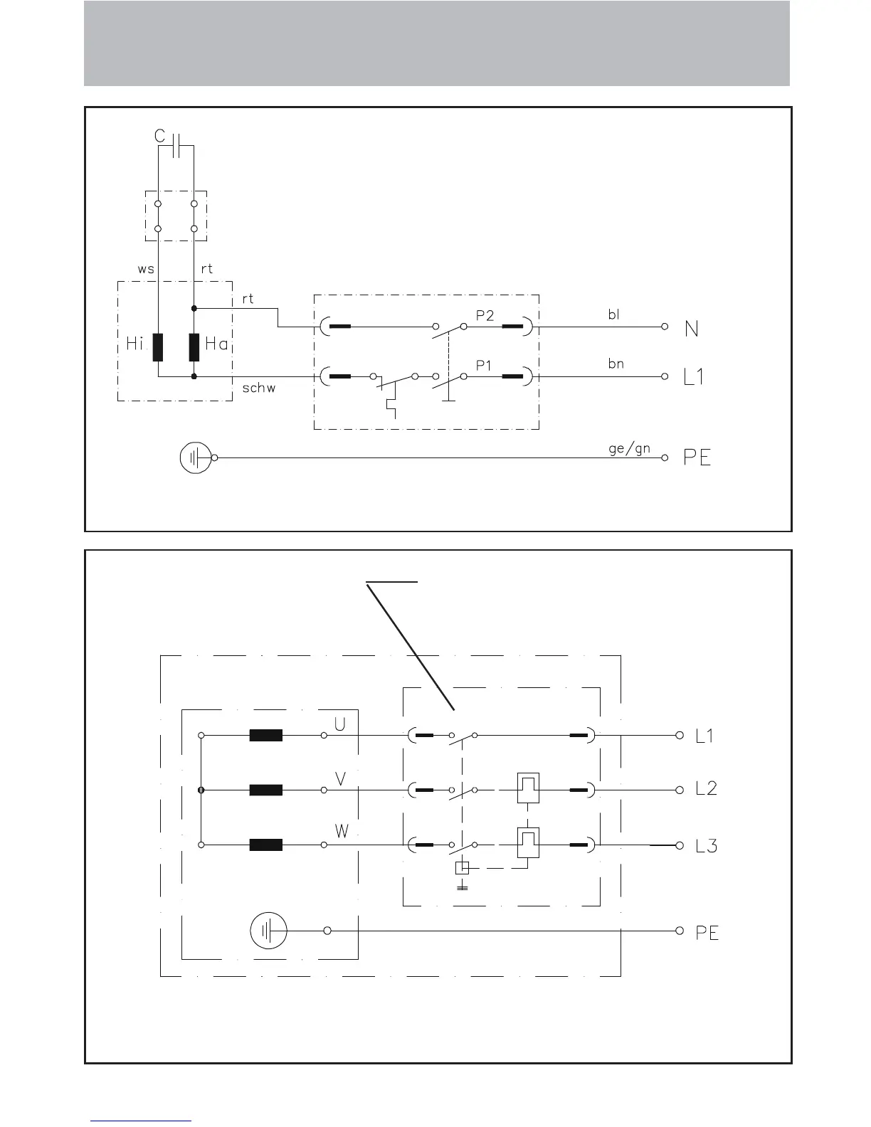
Terminal strip
Weber-Unimat WT 22 - 551
13,5A excess current release
Motor-Stator
Switch Weber - Amazonas
8 A for K155
KRÄNZLE 155 400 Volt / 50 Hz
Motor with terminal box
KRÄNZLE 115, 125, 135 230 Volt / 50 Hz
Wiring diagram
70 μF
braun = brown
blau = blue
schw = black
rt = red
ge = yellow
gn = green
ws = white

Related product manuals