EasyManua.ls Logo

Kubota M7040SU - Page 58

Kubota M7040SU
90 pages
Print Icon
To Next Page IconTo Next Page
To Next Page IconTo Next Page
To Previous Page IconTo Previous Page
To Previous Page IconTo Previous Page
Loading...
TIRES, WHEELS AND BALLAST40
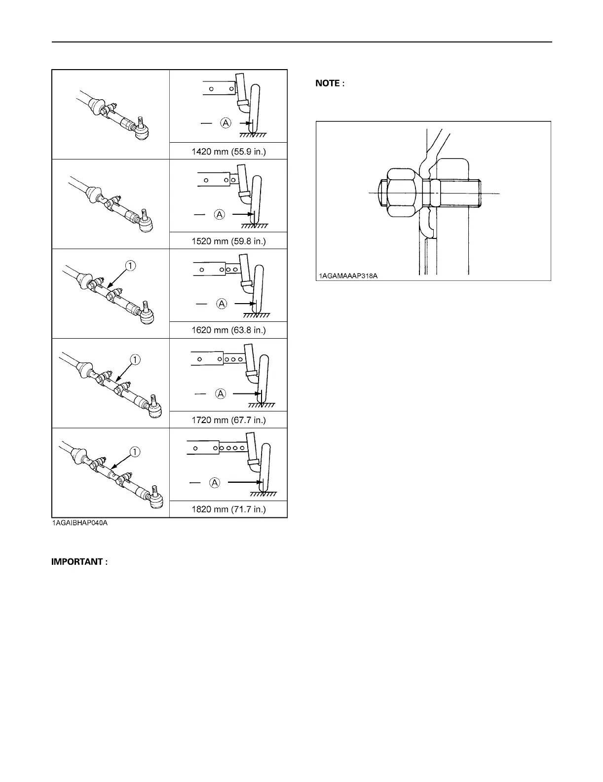
A The front tread width for the front loader application on
2WD models should not be greater than 1420 mm
(55.9 in.).
A Wheels with beveled or tapered holes: Use the
tapered side of lug nut.
(1) Extension1 (A) "TREAD"

Table of Contents

Related product manuals