EasyManua.ls Logo

Kustom KHS-6640 - Khs-6 S Controller

Kustom KHS-6640
14 pages
Print Icon
To Next Page IconTo Next Page
To Next Page IconTo Next Page
To Previous Page IconTo Previous Page
To Previous Page IconTo Previous Page
Loading...
KHS-6S
CONTROLLER
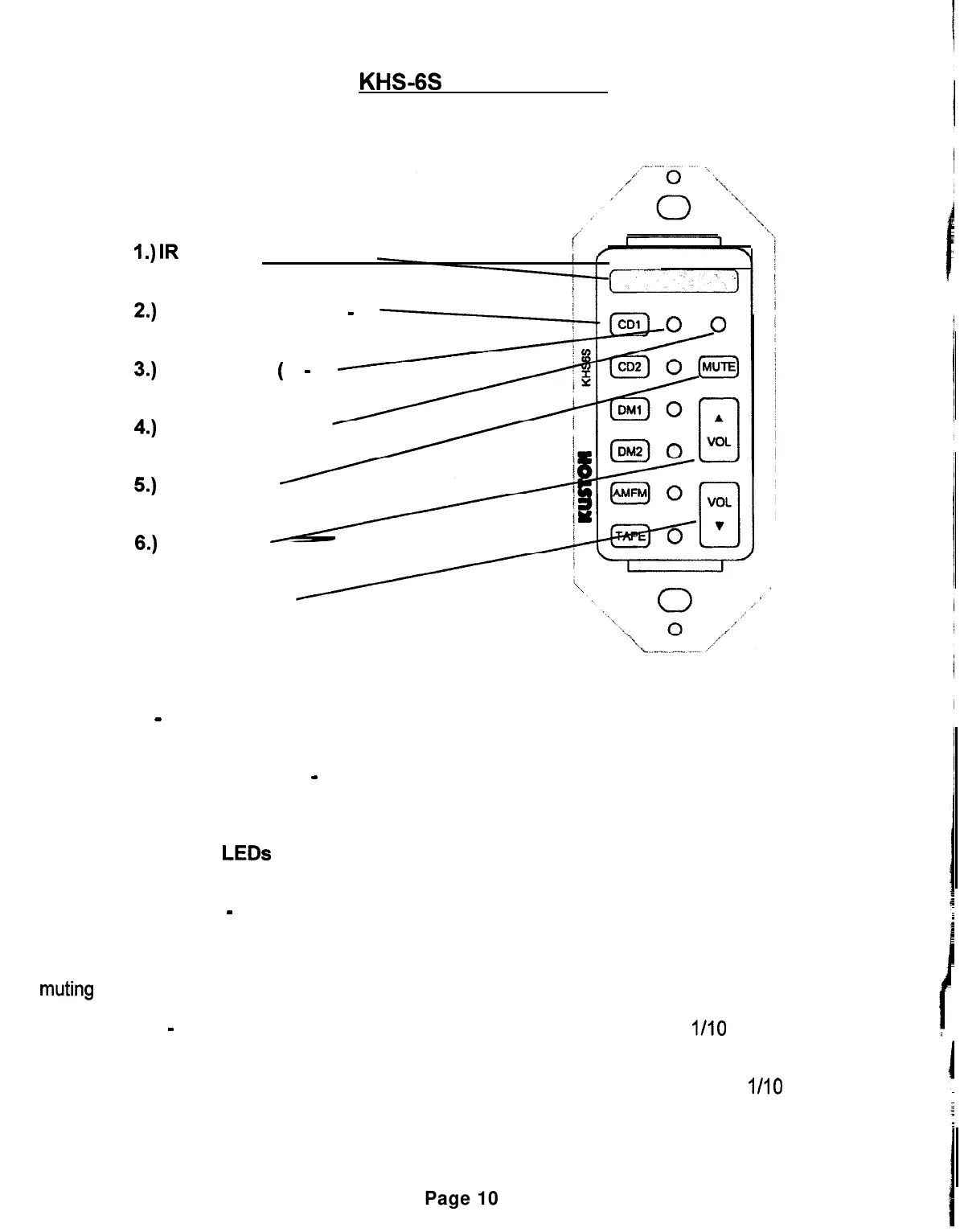
1.)
IR
Sensor
2.1
3.)
4.1
5.1
6.1
Source Selectors (1
-
6)
Source LED
(
1
-
6)
Power Status LED
Mute Button
Volume Up
7.) Volume Down
1.) IR Sensor -
this is an Infrared Sensor window. We suggest you aim the external remote control
directly at this window to pass on commands back to and through the unit.
2.)
Source Selector Buttons (1
-
6) -these
buttons will select the source you want to listen to.
Individual key caps (supplied with the unit) will allow you to customizethe source selections. These
can be: CD, Receiver, Tape, DSS, TV or whatever combination you wish.
3.) Source Selection LEDs (1 -6) -these
Light Emitting
source to let you know the selection was made.
Diodes (LED) will light up next to the selected
4.) Power Status LED
-
this LED indicates the power status of the system. Lighted, the system is on
and ready. Off, the system is not engaged.
5.) Mute Button -this
button will instantly stop the audio through the system. It is used for temporarily
muting
the system such as to take a phone call or listen to someone speaking in another room.
6.)
Volume Up
-
this raises the local zone volume up at a rate of 2-4 db per
I/IO
second. Hold down
the control and the volume goes up quickly.
7.)
Volume Down
-this
lowers the local zone volume down at a rate of 2-4 db per
l/IO
second. Hold
down the control and the volume goes down quickly.
Page 10
SMARTHOME.COM™ 1-800-SMART-HOME 949-221-9200 http://www.smarthome.com Order #8270C

Related product manuals