EasyManua.ls Logo

Kustom KHS-6640 - Learn Button

Kustom KHS-6640
14 pages
Print Icon
To Next Page IconTo Next Page
To Next Page IconTo Next Page
To Previous Page IconTo Previous Page
To Previous Page IconTo Previous Page
Loading...
84
Reset
Clear
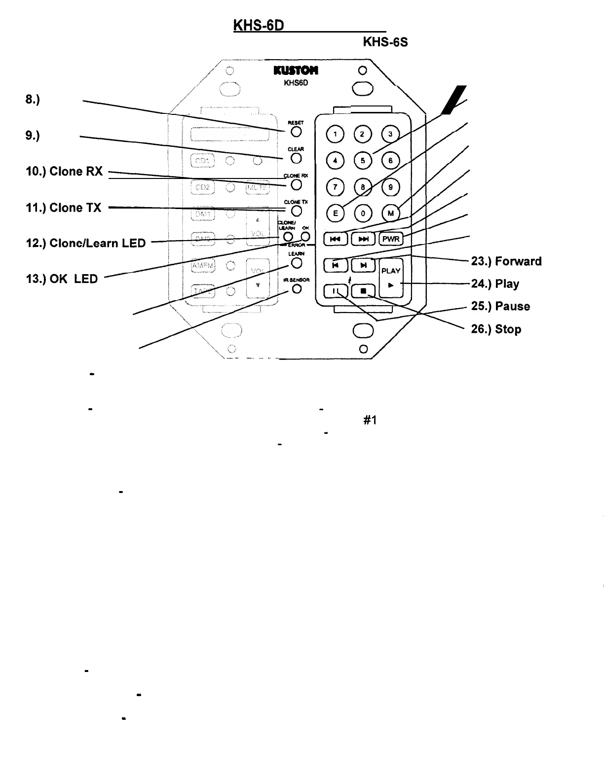
KHS-6D
CONTROLLER
The left side of this controller is identical to the KHS-6S consult last page.
I\
16.)
17.)
18.)
19.)
20.)
21.)
22.)
Numeric Entry
Enter Button
Macro Button
Skip Backwards
Skip Forwards
Power On
Reverse
14.) Learn Button
x”.+
15.) IR Sensor LED
\
._.
“.
l^.
.“.
,.
,,
8.) Reset
-
this resets the local zone controller if an IR command locks upthe zone. It will not erase
the local zone memory. It will just send a local clear command.
9.)
Clear
-
this button has 3 modes: a.) device mode
-
will clear learned commands from the local
zone memory. If you press clear and then say source selector
#I
then the commands associated with
that page of memory will be erased. b.) storage mode
-
this will allow any individual key to be erased
and reprogrammed. c.) macro memory mode
-
this will allow you to reprogram a individual macro key
(0 -9).
(This is a permanent erase function, so be careful with this command.)
10.) Clone RX
-
this button will place the controller into a ready to receive commandsmode. This
is the learning mode. When setting up the system initially, place all but one controller in this mode and
use the one master controller to teach the local zones their commands. The clone/learn LED will light
and stay on. When the data is received correctly, the red LED will go out and the green OK light will
go on.This process takes between 6 and 8 minutes.
11.) Clone TX
-this button will place the controller into a ready to transmit commandsmode. This
is the teaching mode. When setting up the system initially, place one controller in this mode and use
it as a master controller to teach the other local zones their commands. The clone/learn LED and OK
LED will stay on. When the data is transmitted correctly, the red LED will go out and the green OK
light will flash then go off. This process takes between 6 and 8 minutes.
12.) Clone/Learn LED -this LED will let you know the status of transmit and receive during the learning
or teaching processes.
13.) OK
-
this LED will also let you know the progress of the learning/teaching processes.
14) Learn Button
-
this button puts the controller into a learning mode.
15.) IR Sensor
-
use this IR window when teaching a controller new IR commands with an external
remote.
Page 11
SMARTHOME.COM™ 1-800-SMART-HOME 949-221-9200 http://www.smarthome.com Order #8270C

Related product manuals