EasyManua.ls Logo

Lambda EMS 40-25 - Figure 3.8: Remote Programming by External Resistance, Current Mode; Figure 3.9 A: Remote Programming by External Voltage, Current Model

Default Icon
39 pages
Print Icon
To Next Page IconTo Next Page
To Next Page IconTo Next Page
To Previous Page IconTo Previous Page
To Previous Page IconTo Previous Page
Loading...
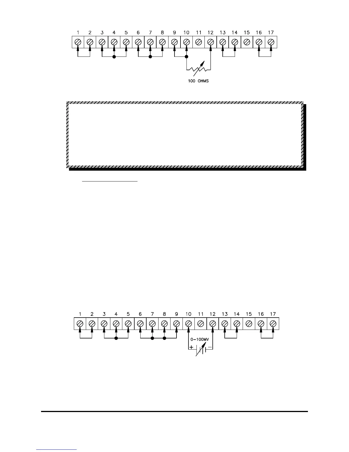
Figure 3.8: Remote programming by External Resistance, Current Mode
CAUTION
An opening in the remote programming circuit is effectively a high
programming resistance and will allow an uncontrolled current rise exceeding
the maximum output of the power supply. This may cause possible damage to
the power supply and/or load. For this reason, any programming resistor
switcher must have shorting contacts. This type of shorting switch connects
each successive position before disconnecting the preceding one.
B. External DC Voltage:
To program the output from zero to full rated current, configure the strapping connections on
TB1/J1 as shown on Figure 3.9a. A signal from a higher potential source may be attenuated
to the 100mV level by a resistor divider. For best performance, the source impedance of this
divider should not exceed 1000 Ohms. (May not be needed for the 0-5V or 0-10V
programming options).
1. Remove the jumpers between terminals TB1/J1-9, TB1/J1-10 and TB1/J1-11.
2. If unit has the 0-5V or 0-10V programming options, connect a link between TB1/J1-11
and TB1/J1-12 as shown in Figure 3.9b. Otherwise, if the unit has the default
(0-100mV) programming , connect as shown in Figure 3.9a.
3. Connect the programming voltage source between terminals TB1/J1-10 (positive) and
TB1/J1-12 (negative).
NOTE: Apply the appropriate programming voltage. Do not apply 0-5V or 0-10V
programming to a unit that has the default (0-100mV) programming. The Voltage source
must be isolated from the EMS “V-” terminal.
Figure 3.9a: Remote Programming by External Voltage, Current Model
83-473-000 Revision J
3 - 8 Operating Instructions

Table of Contents

Related product manuals