EasyManua.ls Logo

lancer DELTA - Page 2

lancer DELTA
2 pages
Print Icon
To Previous Page IconTo Previous Page
To Previous Page IconTo Previous Page
Loading...
2
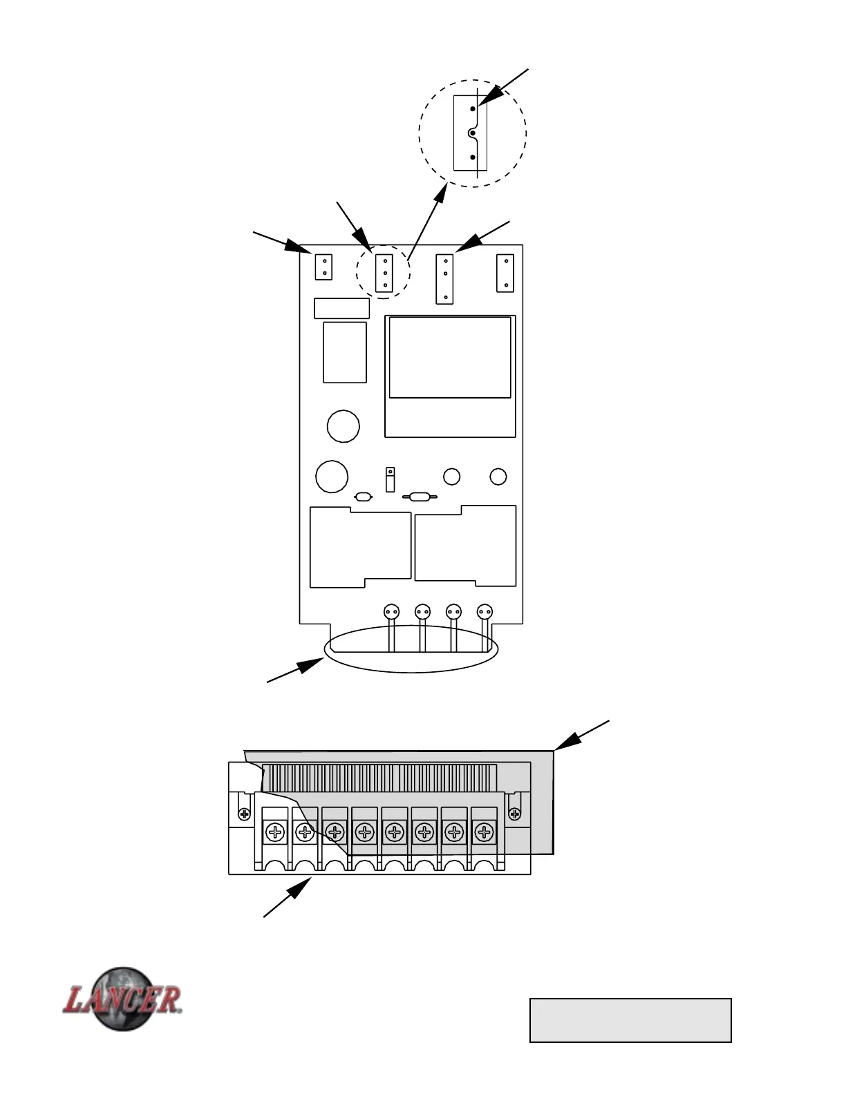
J1 J2 J3 J5
4321
SHORT OUT PINS
ICE BANK PROBE
TERMINAL
24VAC
CARBONATOR
PROBE TERMINAL
CARB
RELAY
COMP
RELAY
PCB EDGE
CONNECTOR
TERMINAL BLOCK
TAPE
Figure 1
Check out the Lancer web site:
www.lancercorp.com

Related product manuals