EasyManua.ls Logo

Lang 124T - Installation; Leg Installation; Installation Leg Installation

Lang 124T
23 pages
Print Icon
To Next Page IconTo Next Page
To Next Page IconTo Next Page
To Previous Page IconTo Previous Page
To Previous Page IconTo Previous Page
Loading...
8
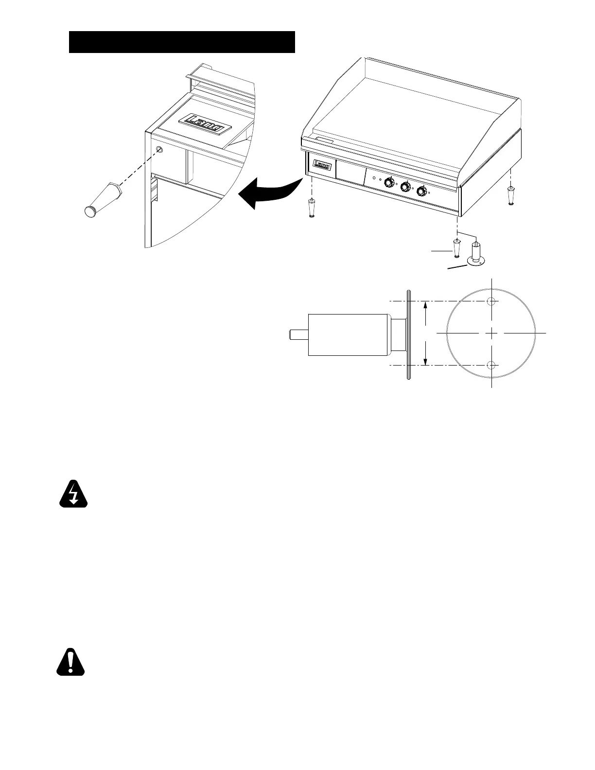
INSTALLATION
Leg Installation
There are four, 4” legs provided for 2, 3 and
4 foot griddles.
There are eight 4” legs provided for 5 and 6
foot griddles.
The legs are shipped in the grease drawers
of the griddle. Install them into the threaded
holes on the underside of the griddle body.
Leveling adjustment may be done by screwing the bottom portion of the leg in and out.
IL1554
Std Leg
Marine Bolt Down Leg
DANGER: THIS APPLIANCE MUST BE GROUNDED AT THE TERMINAL PROVIDED.
FAILURE TO GROUND THE APPLIANCE COULD RESULT IN ELECTROCUTION
AND DEATH.
INSTALLATION OF THE UNIT MUST BE DONE BY PERSONNEL QUALIFIED TO
WORK WITH ELECTRICITY AND PLUMBING. IMPROPER INSTALLATION CAN
CAUSE INJURY TO PERSONNEL AND/OR DAMAGE TO EQUIPMENT. UNIT
MUST BE INSTALLED IN ACCORDANCE WITH ALL APPLICABLE CODES.
NOTICE: The data plate is located behind access panel between controls and grease
drawer. The grill voltage, wattage, serial number, wire size, and clearance
speci cations are on the data plate. This information should be carefully
read and understood before proceeding with the installation.
NOTICE: The installation of any components such as a vent hood, grease extractors,
re extinguisher systems, must conform to their applicable National, State
and locally recognized installation standards.
ALWAYS KEEP THE AREA NEAR THE APPLIANCE FREE FROM
COMBUSTIBLE MATERIALS.
KEEP FLOOR IN FRONT OF EQUIPMENT CLEAN AND DRY. IF SPILLS
OCCUR, CLEAN IMMEDIATELY, TO AVOID THE DANGER OF SLIPS OR FALLS.
CAUTION
WARNING
Above: typical leg installation.
2.5”
IL1550
For bolt down legs see above illustration for dimensions.