EasyManua.ls Logo

LENCO MC-150 - Page 40

LENCO MC-150
60 pages
Print Icon
To Next Page IconTo Next Page
To Next Page IconTo Next Page
To Previous Page IconTo Previous Page
To Previous Page IconTo Previous Page
Loading...
40
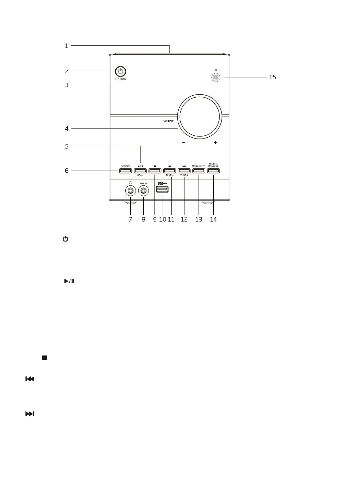
FAÇADE
1. PORTE DU COMPARTIMENT DE CD
2. MISE EN VEILLE
Appuyez dessus pour mettre en marche l'appareil. Rappuyez dessus pour éteindre et passer en mode veille.
3. AFFICHAGE
Pour afficher l'état de fonctionnement de l'appareil et des informations
4. VOLUME +
Pour régler le volume principal
5. LECTURE/PAUSE /RECHERCHE
CD/USB/BT : Appuyez dessus pour faire pause ou bien reprendre la lecture.
FM : Appuyez brièvement pour rechercher la prochaine station FM disponible.
Maintenez ce bouton enfoncé pour démarrer une recherche automatique et stocker toutes les stations FM disponibles.
DAB : Appuyez dessus pour démarrer une recherche automatique et stocker toutes les stations DAB disponibles.
6. SOURCE
Appuyez sur ce bouton pour changer le mode de fonctionnement : DAB/FM/CD/USB/BT/AUX IN (entrée aux.)
7. PRISE DE SORTIE CASQUE
Pour brancher des écouteurs externes
8. Entrée auxiliaire
Pour brancher un lecteur audio externe
9. ARRÊT
Appuyez dessus pour arrêter la lecture CD/USB.
10. ENTRÉE USB
11. /RÉGLAGE-
DAB : Appuyez dessus pour afficher les informations de la prochaine station.
FM : Appuyez brièvement pour syntoniser une autre fréquence
Maintenez enfoncé pour rechercher la prochaine station disponible.
CD/USB/BT : Appuyez dessus pour rechercher la piste précédente.
12. /RÉGLAGE+
DAB : Appuyez dessus pour afficher les informations de la prochaine station.
FM : Appuyez brièvement pour syntoniser une autre fréquence
Maintenez enfoncé pour rechercher la prochaine station disponible.
CD/USB/BT : Appuyez dessus pour rechercher la piste suivante.

Related product manuals