EasyManua.ls Logo

Lennox EMEA FLATAIR2 - Airflow Configuration - Duct Positions

Lennox EMEA FLATAIR2
20 pages
Print Icon
To Previous Page IconTo Previous Page
To Previous Page IconTo Previous Page
Loading...
• 19 •
B1
B1
Installation Manual • FLATAIR ADV2 IOM-MIL161E-0920-09/2020
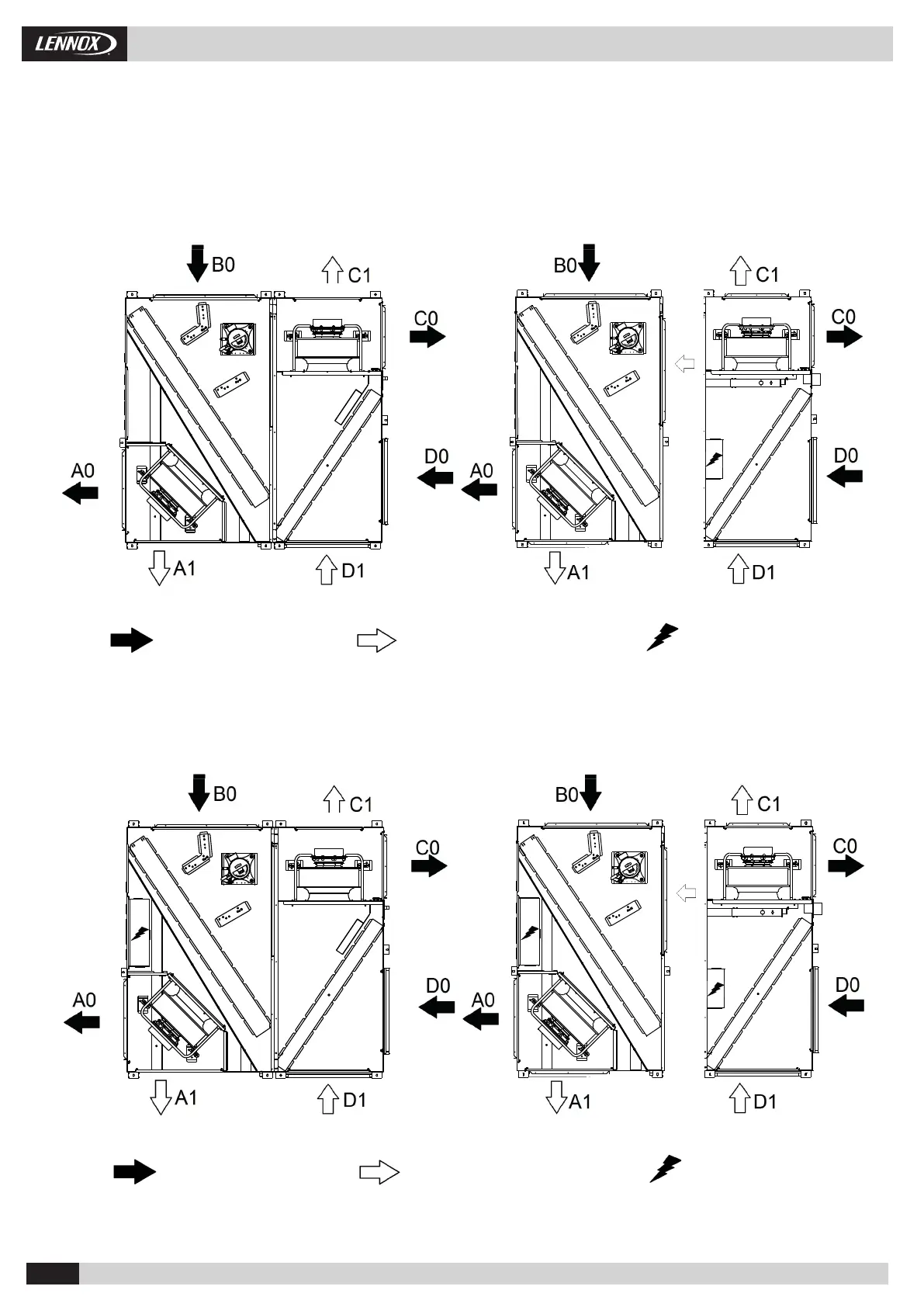
1.11. AIRFLOW CONFIGURATION - DUCT POSITIONS
MODEL 020
PACKAGED UNIT
SPLIT UNIT
INDOOR FAN
INDOOR FAN
OUTDOOR
FAN
OUTDOOR
FAN
OUTDOOR COIL
OUTDOOR COIL
INDOOR COIL
INDOOR COIL
COMPRESSOR COMPRESSOR
B.E.
B.E.
STANDARD EXECUTION
OPTIONAL EXECUTION
(TO BE CARRIED OUT BY THE INSTALLER)
ELECTRICAL BOX
MODEL 035
PACKAGED UNIT
SPLIT UNIT
INDOOR FAN
INDOOR FAN
OUTDOOR
FAN
OUTDOOR
FAN
OUTDOOR COIL
OUTDOOR COIL
INDOOR COIL
INDOOR COIL
COMPRESSOR COMPRESSOR
B.E.
B.E.
STANDARD EXECUTION
OPTIONAL EXECUTION
(TO BE CARRIED OUT BY THE INSTALLER)
ELECTRICAL BOX
1. GENERAL CHARACTERISTICS