EasyManua.ls Logo

Lennox COMFAIR HH 70 - Electrical Connections; Electrical Connection Safety; Wiring Terminal Blocks

Lennox COMFAIR HH 70
20 pages
Print Icon
To Next Page IconTo Next Page
To Next Page IconTo Next Page
To Previous Page IconTo Previous Page
To Previous Page IconTo Previous Page
Loading...
ELECTRICAL CONNECTIONS
RECOMMENDATIONS
Before carrying out electrical connections, ensure that the electricity supply to the supply line has been cut off, checking
that the on-off switch is in the OFF position.
- Only qualified electricians should carry out the electrical connections.
- Check that the mains supply is single-phase 230 Vac/1/50 Hz (± 10%).
- Operating the unit with voltages outside the above limits could cause malfunction and renders the warranty null and
void.
- The power supply line should be fitted with at least a switch isolator in conformity with European standard EN60947-3.
- Make sure that the electrical system is suitable for providing not only the working current required by the unit, but
also the necessary current for powering household and other electrical appliances already in use. Any electrical and
mechanical alterations or tampering render the warranty null and void.
!
The cables should be sufficiently long so that they are not permanently taut or create throttling or compression
on metal parts .
The power cables should be sufficiently long so that in the event of accidental tugging the active wires are subjected
to stress before the earth wire.
Connect the earth wire to the relative terminal marked with the symbol
.
Check the earth connection.
Comply with the safety regulations in force in the country of installation.
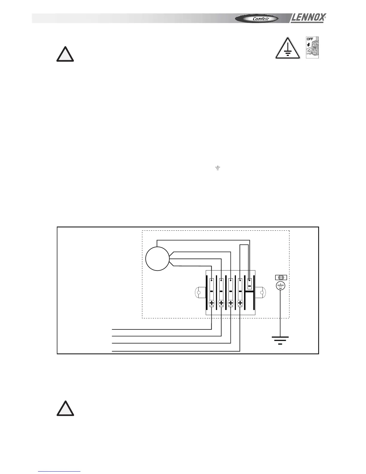
CONNECTIONS TO THE TERMINAL BLOCKS
The electrical connections should be made to the terminal block on the side of the appliance. Each terminal is identified
by the label to be found on the terminal block.
LEGEND
Ph Phase (brown) I Minimum speed (red)
N Neutral (blue) II Medium speed (blue)
T Earth (yellow/green) III Maximum speed (black)
M Fan motor Com Common (white)
CAUTION!
FAILURE TO COMPLY WITH THE INDICATED CONNECTIONS MAY CAUSE MOTOR
BURNOUT!
!
Fig. 16
T
M
com
I
II
III
Remote control
230 Vca / 1 / 50 Hz
III
II
I
COM
T
Wiring diagram of ductable air treatment unit mod. 10 - 20 - 30 - 40.
INSTALLATION - OPERATING & MAINTENANCE MANUAL
Page 11

Other manuals for Lennox COMFAIR HH 70

Related product manuals