EasyManua.ls Logo

Lennox GCM07N - Refrigeration Cycle Diagram

Lennox GCM07N
39 pages
To Next Page IconTo Next Page
To Next Page IconTo Next Page
To Previous Page IconTo Previous Page
To Previous Page IconTo Previous Page
Loading...
9
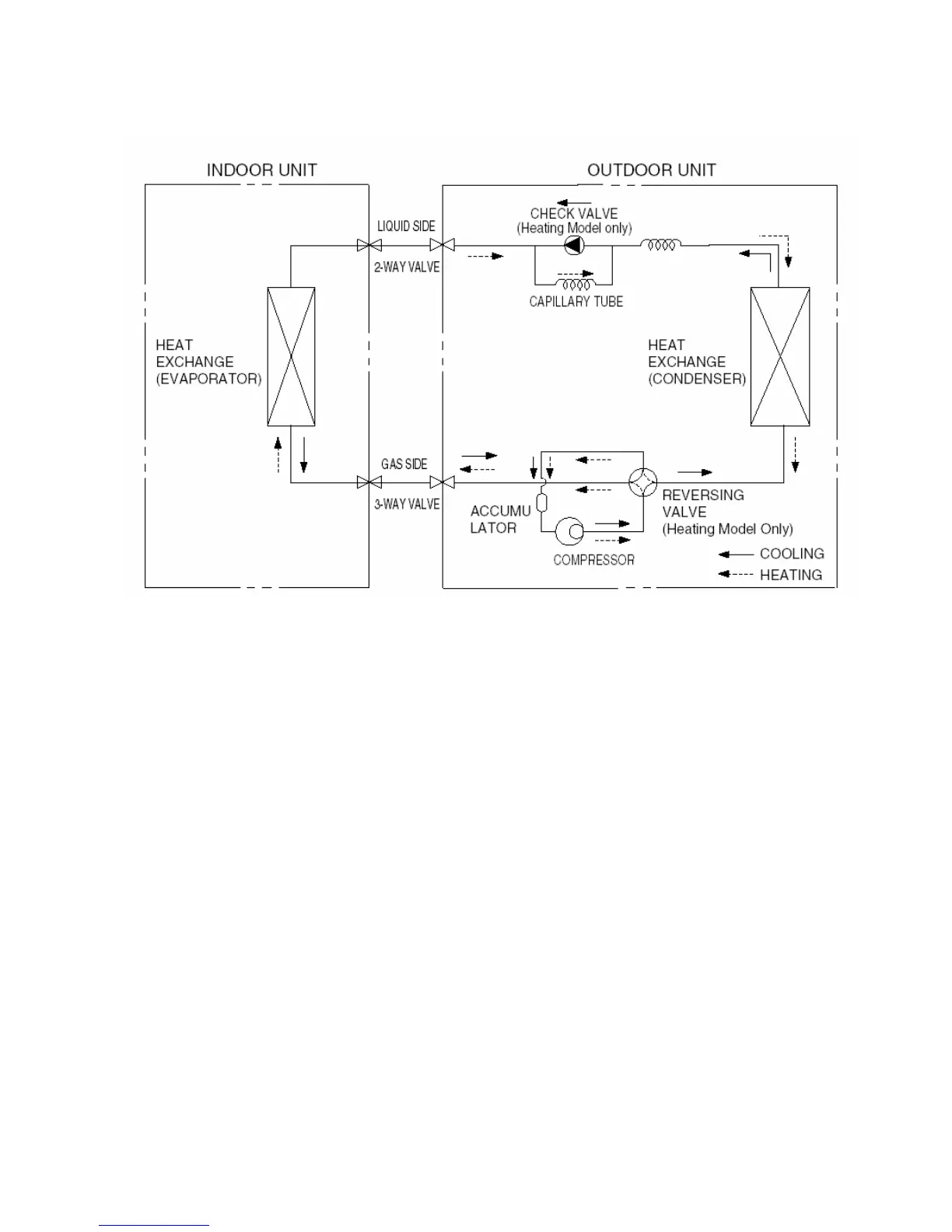
4.Refrigeration cycle diagram

Related product manuals