EasyManua.ls Logo

Lennox GCS16-653-75

Lennox GCS16-653-75
134 pages
To Next Page IconTo Next Page
To Next Page IconTo Next Page
To Previous Page IconTo Previous Page
To Previous Page IconTo Previous Page
Loading...
Page 56
FIGURE 71
COND
FAN
LOW AMBIENT
PRESSURE SWITCH
COMPRESSOR
CONTACTOR
BLUE
BLUE
DISCONNECT
OPTIONAL
COMPRESSOR
MONITOR
LOSS OF CHARGE
SWITCH
HIGH PRESSURE
SWITCH
COMP
COMPRESSOR
JUNCTION BOX
FIELD WIRING
LOW AMBIENT KIT
The low ambient pressure switch cycles the condenser
fan while allowing normal compressor operation. This in
termittent fan operation results in a high evaporating tem
perature which allows the system to operate without icing
the evaporator coil and losing capacity.
Adjustment:
The low ambient pressure switch is adjustable but the ad
justment knob does not adjust CUT-IN or CUT-OUT
points. CUT-IN point is fixed and cannot be adjusted. The
scale on the switch measures the difference in pressure
between preset CUT-IN and adjustable CUT-OUT points.
Adjustment knob changes CUT-OUT point by adjusting
the DIFFERENCE between CUT-IN and CUT-OUT.
The low ambient pressure switch is factory set to CUT-IN
at 285psig with a difference of 146psig (CUT-OUT at
140psig). Adjustment should not be needed. If adjustment
is needed, adjust the switch as follows:
1- Loosen knob securing screw to allow knob stop to pass
over fixed stop on control (see figure 72).
DIFFERENCE (set by knob) = CUT-IN POINT (fixed) mi
nus CUT-OUT POINT
To find CUT-OUT point, this equation can be re-arranged:
CUT-OUT = CUT-IN minus the DIFFERENCE.
2- Rotate the knob as needed to set the difference indica
tor at 145psig (1000kPa).
3-Tighten the securing screw after adjusting.
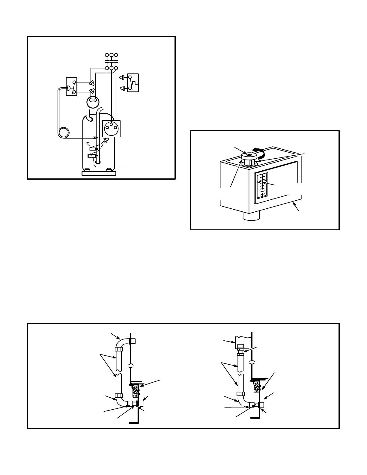
FIGURE 72
LOW AMBIENT ADJUSTMENT DETAIL
ROTATE COUNTERCLOCKWISE
FIXED
STOP
KNOB
SECURING
SCREW
ADJUSTMENT
KNOB
LOW AMBIENT
CONTROL
SET INDICATOR
AT 140 PSIG
LOW AMBIENT ADJUSTMENT
N-Roof Curb Power Kit
Optional Roof Curb Power kit allows line and low voltage
power to be brought into unit from the RMF16 roof mount
ing frame. Figure 73 shows typical roof curb power kit
installations. Roof Curb Power kit is applicable only to larg
er (-410, -510 and -650) unit sizes and can be used on both
RMF16-41 and RMF16-65 roof mounting frames. Two
7/8" knockouts are provided along the long rails of each
mounting frame for installation. All components in Roof
Curb Power kit are field assembled and field installed.
FIGURE 73
90 WATER TIGHT
FLEXIBLE CONDUIT
90 WATER TIGHT
FLEXIBLE CONDUIT
90 WATER TIGHT
FLEXIBLE CONDUIT
WATER TIGHT
FLEXIBLE CONDUIT
WATER TIGHT
FLEXIBLE CONDUIT
CONDUIT
COUPLING
CONDUIT
COUPLING
CONDUIT
COUPLING
TYPICAL ROOF CURB POWER ENTRANCE
CONDUIT
COUPLING
WATERTIGHT
LOCKNUT
NIPPLE
(5" LENGTH)
MOUNTING
FRAME
UNIT
DISCONNECT
BOX
STRAIGHT FLEXIBLE
CONDUIT FITTING
MOUNTING
FRAME
WATER TIGHT
LOCKNUT
NIPPLE
(5" LENGTH)
UNIT

Related product manuals