EasyManua.ls Logo

Lennox LDT240

Lennox LDT240
54 pages
To Next Page IconTo Next Page
To Next Page IconTo Next Page
To Previous Page IconTo Previous Page
To Previous Page IconTo Previous Page
Loading...
Page 43
F-Unit Operation
Use the mobile app to check unit mechanical operation.
See the Service - Test section of the Unit Controller
manual.
G-Manual Supply Air VFD Bypass
IMPORTANT - All dampers must be open to prevent
damage to duct work and dampers.
Note - This section does not apply to units equipped with
optional automatic VFD bypass. That option will
automatically change from multi-stage air volume to
constant air volume operation in the event of VFD failure.
Manually change blower operation to constant air volume
as follows:
1- Disconnect all power to unit and WAIT AT LEAST 10
MINUTES before opening the VFD cover.
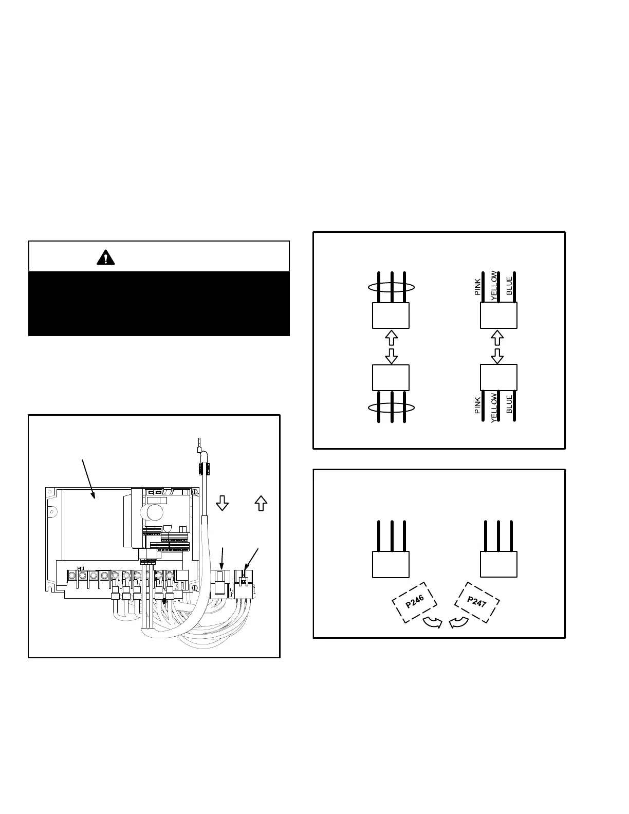
WARNING
ELECTRICAL SHOCK HAZARD.
STOP! Before you continue, make sure that power to
the VFD has been off for at least 10 minutes. The
capacitor in the VFD holds high voltage power for up
to 10 minutes after power has been disconnected.
2- Locate P246 and P247 connectors near the VFD. See
figure 35.
3- Disconnect P246 from P246 (power in to VFD) and
P247 from P247 (power out to blower). See figure 36.
4- Connect P246 to P247. See figure 37.
FIGURE 35
VFD CONNECTORS
A96
SUPPLY AIR VFD
P247P246
POWER
IN, TO
VFD
POWER
OUT, TO
BLOWER
5- Restore power to unit. Blower will operate in constant
air volume (CAV) mode.
Note - The indoor blower motor will start as soon as the main
unit power is restored. In manual bypass, the blower will run
regardless of thermostat signals until main unit power is turned
off. Manual bypass is meant for emergency operation only and
not long-term usage.
6- Check the indoor blower motor nameplate for full load
amperage (FLA) value. Measure the amp readings
from the indoor blower motor operating in bypass
mode. If measured amps are higher than nameplate
FLA value, decrease the CFM by opening (turning
counterclockwise) the motor pulley. See figure 12. Do
not exceed minimum and maximum number of pulley
turns as shown in table 4.
P247
FIGURE 36
DISCONNECT VFD BYPASS CONNECTORS
P246
P246
P247
POWER IN TO VFD
POWER IN TO VFD
POWER OUT, TO BLOWER
POWER OUT, TO BLOWER
PINK
WIRES
PINK
WIRES
FIGURE 37
CONNECT POWER DIRECTLY TO BLOWER
(BYPASS VFD)
P246
P247
POWER IN TO VFD POWER OUT, TO BLOWER

Other manuals for Lennox LDT240

Related product manuals