EasyManua.ls Logo

Lenoxx CDR-190 - Playing CD in programmed or random order; Programmed Play; Random Play

Lenoxx CDR-190
16 pages
Print Icon
To Next Page IconTo Next Page
To Next Page IconTo Next Page
To Previous Page IconTo Previous Page
To Previous Page IconTo Previous Page
Loading...
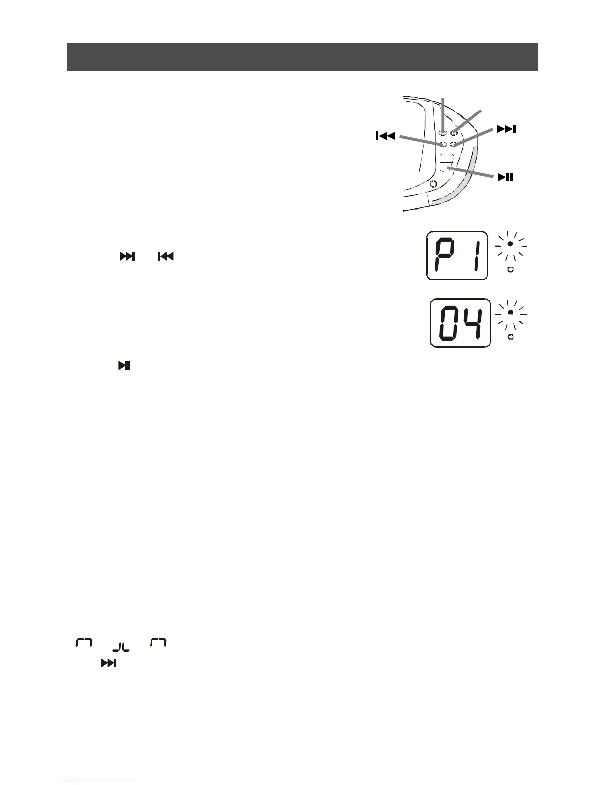
5. Playing CD in programmed or random order
1. Programmed Play
You can make a program of up to 16
tracks in the order you want them to be
played.
1. Slide the Function Switch to CD position, and Mode
Switch to ON. Make sure the CD is stopped.
2. Press the Program Button. The letters P1 will show
and the Play/Program Lamp will flash.
3. Press or
to select the tracks you want to
program in the order you want.
4. Press the Program Button to confirm. The letters P2
will show and the Play/Program Lamp will flash.
5. Repeat steps 3 and 4. You can program up to 16
tracks (Display will show P0 for program#10, and
Pa, Pb ... Pf for program#11-16).
6. Press to start program play. The Play/Program
Lamp will remain flashing.
To change the current program
Just create a new program following the Programming procedure.
Random
To cancel Program Play
Press the Stop Button and the Program Lamp goes off.
PLAY/PROG.
PLAY/PROG.
2. Random Play
To play the songs in random order
Press the CD Random Button, and the display will show some moving symbols like
... ...
 every 5 second. The set will play songs in random order.
Press to skip to the next random song.
To resume normal play
Press the CD Random button again.
Program/Repeat
Programmed memory will be lost
When the Function Switch is moved to the OFF or RADIO position, or the CD door is
opened.

Related product manuals