EasyManua.ls Logo

Lester Prime - User Interface; AC Input

Lester Prime
20 pages
Print Icon
To Next Page IconTo Next Page
To Next Page IconTo Next Page
To Previous Page IconTo Previous Page
To Previous Page IconTo Previous Page
Loading...
Prime Series 10 of 20 User’s Manual
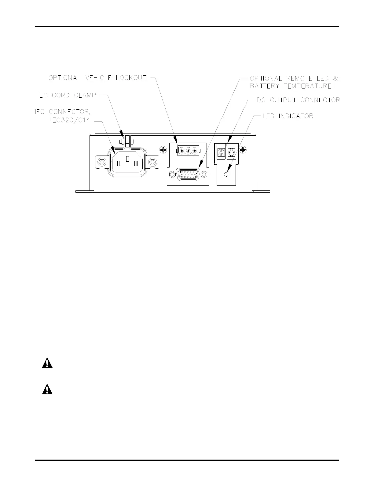
5. USER INTERFACE
Figure 5-1 identifies the items found on the charger user interface.
Figure 5-1 Charger User Interface
6. AC INPUT
The charger has an AC input rating of 100-230 volts, 50-60 hertz, single-phase. The charger has an AC
operating range of 85-265 volts, 45-65 hertz. Below 100 volts, the charger may reduce output power.
The charger is equipped with an IEC inlet for the AC input power. This allows the AC power cord to be
selected with a proper plug to be compatible with the local wall outlets. An optional AC cord clamp is available
to retain the AC power cord.
The charger must be grounded to reduce the risk of electric shock and is equipped with an IEC inlet having an
equipment-grounding conductor and a grounding socket. The installed AC power cord must be plugged into
an outlet that is properly installed and grounded in accordance with all applicable electrical codes and
ordinances.
If this charger includes the UL Listed symbol on its ratings label, it is provided with a cord set for connection to
outlets operating at nominal 120 volts (or 240 volts as appropriate). If the input plug does not fit the power
outlet, contact Lester Electrical for the proper cord set terminating in an attachment plug of the proper
configuration for the power outlet.
CAUTION: TO REDUCE THE RISK OF ELECTRIC SHOCK OR FIRE, DISCONNECT AC POWER
FROM THE CHARGER BEFORE INSTALLING OR REMOVING UNIT.
DANGER: NEVER ALTER THE AC POWER CORD OR PLUG PROVIDED. IF IT WILL NOT FIT AN
OUTLET, OBTAIN THE CORRECT CHARGER IEC AC CORDSET FOR THE OUTLET, OR HAVE A
PROPER OUTLET INSTALLED BY A QUALIFIED ELECTRICIAN. IMPROPER CONNECTION CAN
RESULT IN A RISK OF ELECTRIC SHOCK.

Related product manuals