EasyManua.ls Logo

Lewmar Ocean 2 - Page 6

Lewmar Ocean 2
26 pages
Print Icon
To Next Page IconTo Next Page
To Next Page IconTo Next Page
To Previous Page IconTo Previous Page
To Previous Page IconTo Previous Page
Loading...
INSTALLATION INSTALLATION INSTALLATION INSTALACION INSTALLATION
Page 6
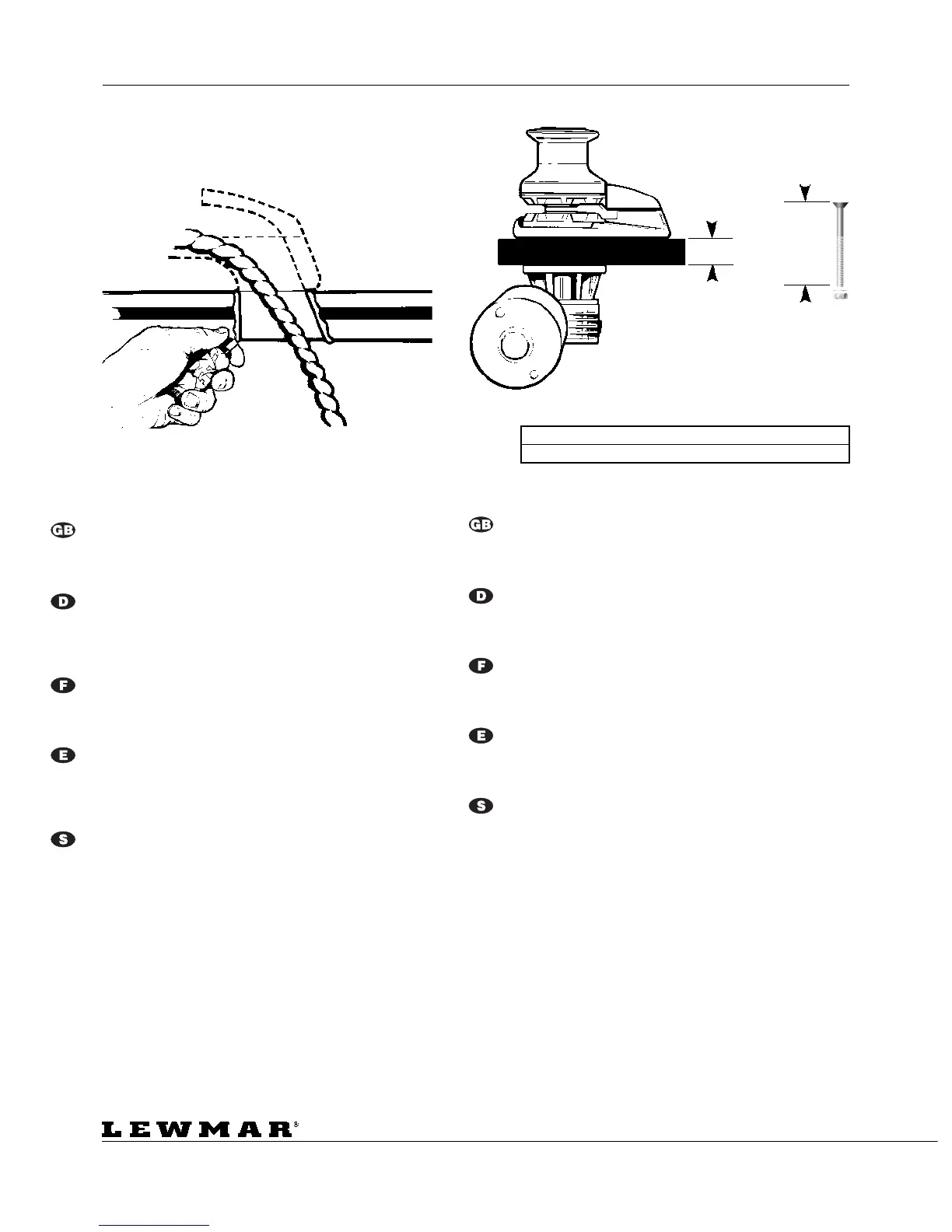
5. Drill and cut the holes to the size detailed on the template. Ensure that
the chain pipe hole is angled and clean to allow rope to smoothly pass
through it (see cutout template for details). With a sandwich construction,
it is important to seal the exposed surfaces.
5. Bohren und schneiden Sie die Löcher in den auf der Schablone
angegebenen Größen. Das Kettenrohr muß entsprechend angewinkelt
werden und sauber sein, damit die Kette gleichmäßig durchlaufen kann
(Einzelheiten siehe Ausschneide-Schablone). Bei einer Verbundbauweise
ist es wichtig, die angeschnittenen Oberflächen zu versiegeln.
5. Percez et découpez les orifices à la dimension indiquée sur le gabarit.
Vérifiez que le trou d’écubier est propre pour permettre à la chaîne de
glisser sans gène par l’écubier. En cas de construction en sandwich, il
est important de rendre étanches les surfaces exposées.
5. Taladrar y cortar los agujeros del tamaño especificado en la plantilla.
Asegurarse de que el agujero para el tragacadenas forma un ángulo y
es limpio para permitir un paso suave del cabo a su través (ver detalles
de corte en la plantilla). En cubiertas de «sandwich» es importante sellar
las paredes de corte.
5. Borra upp och putsa hålen till den dimension som framgår av mallen.
Se till att kättingrörets genomföring är vinklad och fintrimma så att linan
kan passera utan problem (se detaljer på motsvarande mall). För däck
i sandwich-konstruktion är det viktigt att täta frilagda ytor.
6. Use 4 x
5
/
16
UNC or M8 (Concept/Ocean/Capstan 1), and 4 x
7
/
16
UNC or M10 (Concept/Ocean/Capstan 2 & 3) stainless steel hex head
bolts of suitable length (see diagram) to secure the deck unit and motor/
gearbox to the deck.
6. Benutzen Sie 4x 5/16" UNC oder M8 (Concept/Ocean/Capstan 1), bzw.
4x 7/16" UNC oder M10 (Concept/Ocean/Capstan 2 & 3) Niro Sechskant
Schrauben mit passender Länge (siehe Diagramm), um die Deckseinheit
und die Motor/Getriebeeinheit an Deck zu befestigen.
6. Pour fixer le guindeau et la boîte de vitesse au pont, utiliser des boulons
à tête hexagonale et de longueur adéquate (voir dessin) de M8 pour les
Concept/Ocean/Cabestan 1 ou de M10 pour les Concept/Ocean/Cabestan
2 & 3.
6. Usar 4 tornillos acero inoxidable de cabeza hexagonalde M8 (Concept/
Ocean/Capstan 1) o 4 de M10 (Concept/Ocean/Capstan 2 y 3) de la
longitud adecuada (ver diagrama) para fijar a la cubierta el módulo de
cubierta y el motor/caja reductora.
6. Skruva fast däcksmodul och motorväxellåda i däcket med 4 x
5
/
16
UNC eller M8 bultar (Concept/Ocean/Capstan 1) och 4 x
7
/
16
UNC
eller M10 bultar (Concept/Ocean/Capstan 2 & 3) med sexkantshuvud
av rostfritt stål av lämplig längd. Bultarnas längd bör överstiga däckets
tjocklek med minst
9
/
16
(40 mm).
+ (Xmm) =
Concept/Ocean/Capstan 1
x
= 30mm (1
1
/
4
)
Concept/Ocean/Capstan 2 & 3
x
= 40mm (1
9
/
16
)

Table of Contents

Related product manuals