EasyManua.ls Logo

Lexmark T642 - Page 333

Lexmark T642
422 pages
Print Icon
To Next Page IconTo Next Page
To Next Page IconTo Next Page
To Previous Page IconTo Previous Page
To Previous Page IconTo Previous Page
Loading...
Interfaces
8-20
Using an IBM-Compatible Personal Computer with Serial Interface RS-232C
Note: These instructions are for connecting the printer to an IBM-compatible
personal computer using a dual asynchronous adapter or an external print
server.
If you are using any of the above products, or if your computer has a 9-pin D shell
connector that conforms to the IBM designed 9-pin serial port, use a 9-pin to 25-pin
cable, such as IBM Part Number 6450242 (254 mm or 10 in.).
Null modem cables, such as Lexmark part number 1038693 [15.24 m (50 ft)], will
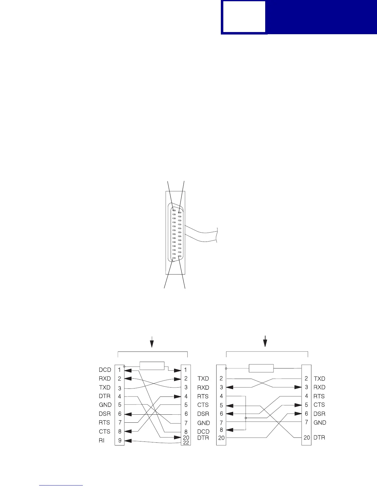
connect the converter cable to the printer. The illustration below represents the 25-pin
connectors for the RS-232C cable (1038693).
The following illustration shows the pin assignments for the 9-pin to 25-pin IBM EIA
RS-232C serial cables.
2513
141
9 to 25 Pin Cable Adapter,
Lexmark 1038693 (50 ft)
9 (F) 25 (M) 25 (M)25 (F)
Shield
Shield
such as IBM 6450242 (10 in.)

Table of Contents

Related product manuals