EasyManua.ls Logo

LG FFH-286A - Tuner Adjustment

LG FFH-286A
49 pages
Print Icon
To Next Page IconTo Next Page
To Next Page IconTo Next Page
To Previous Page IconTo Previous Page
To Previous Page IconTo Previous Page
Loading...
- 2-2 -
3. RECORD BIAS ADJUSTMENT
Head
Unit
PN202
GND
Record/Playback
head
Test Tape
MTT-5511
Record/Playback
and Pause Mode
Frequency Counter
Deck Mode Test Tape Test Point Adjustment Adjust for
Rec/Pause MTT-5511
ERASE HEAD
L203
60kHz±5kHz (Auto stop)
WIRE(PN202) 85kHz±5kHz(Auto Reverse)
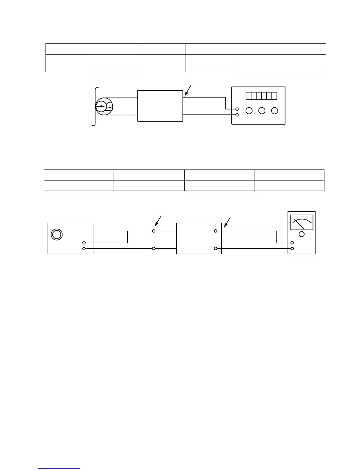
Figure 3. Record Bias Adjustment Connection Diagram
4. TUNER ADJUSTMENT
Figure 4. Tuner(S curve) Adjustment Connection Diagram
Unit
Signal Generator
GND
Electronic
OSCILLOSCOPE
FM Antenna
Terminal
Speaker
Item Test Point Adjustment Adjust for
DC Voltage Checker IC Pin 26, 28 L106 0V±50mV
(FM)

Related product manuals