EasyManua.ls Logo

LG UltraGear 32GS95UE - Product Overview and Controls; Product Components and Button Identification

LG UltraGear 32GS95UE
33 pages
Print Icon
To Next Page IconTo Next Page
To Next Page IconTo Next Page
To Previous Page IconTo Previous Page
To Previous Page IconTo Previous Page
Loading...
9
ENGLISH
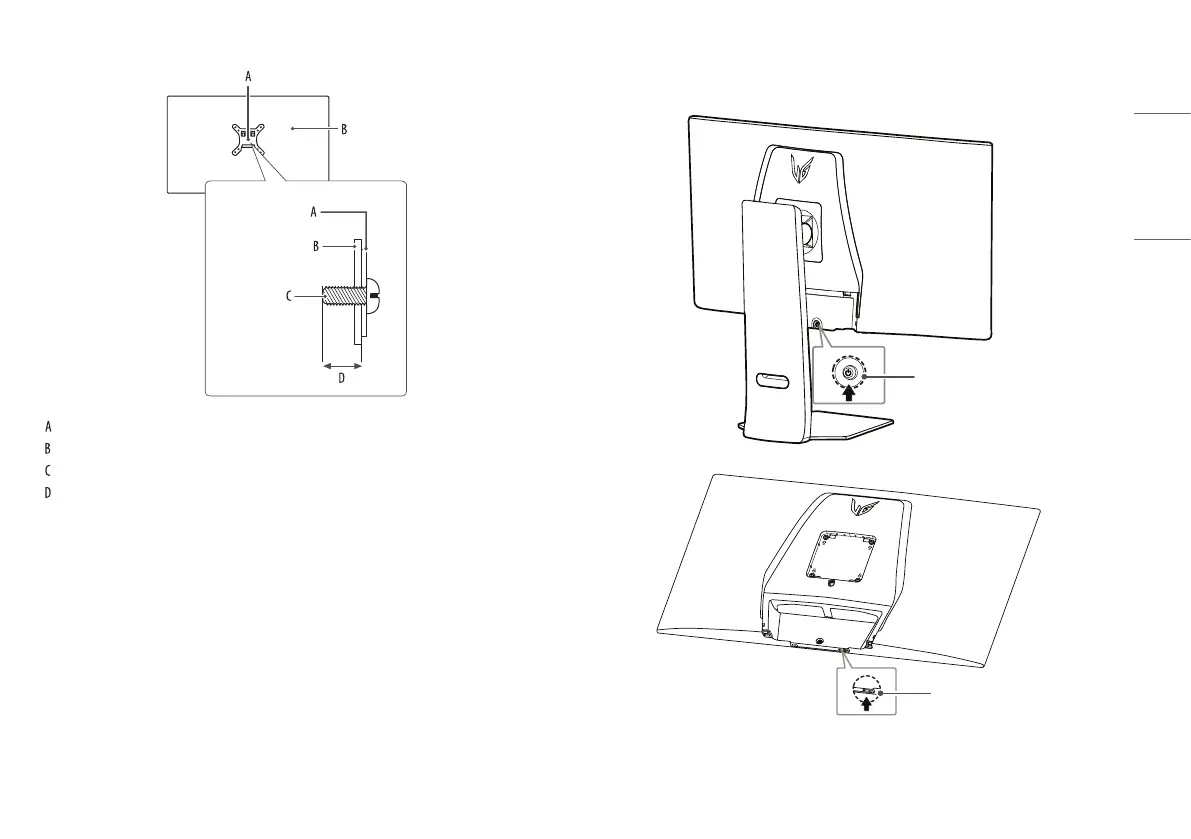
: Wall Mount Plate
: Back of the Monitor
: Standard screw
: Max. 8mm (0.3inches)
Product and Button Description
A
B
A: Joystick Button
B: [Dual-Mode] Button

Other manuals for LG UltraGear 32GS95UE

Related product manuals