EasyManua.ls Logo

Lifetime 51550 - Pole Section Assembly

Lifetime 51550
51 pages
Print Icon
To Next Page IconTo Next Page
To Next Page IconTo Next Page
To Previous Page IconTo Previous Page
To Previous Page IconTo Previous Page
Loading...

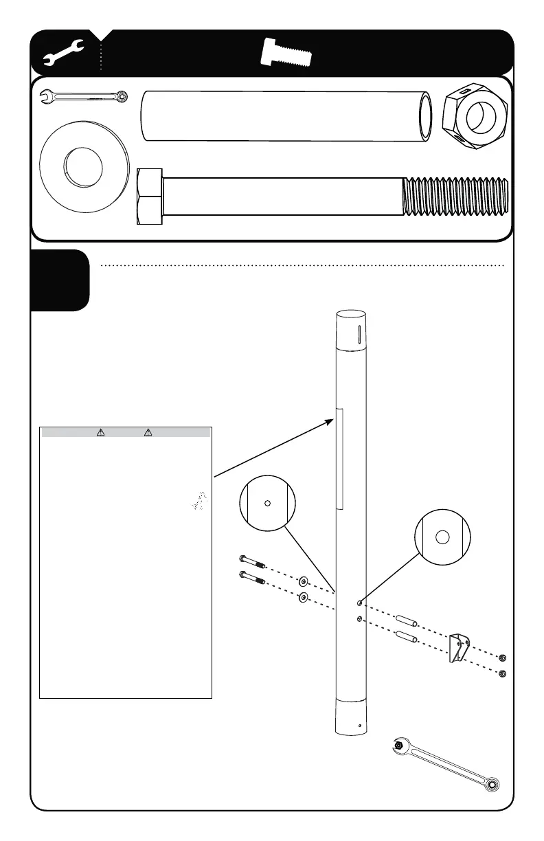
1.1
ADAY
9/16”

ABHY""'Y
ABBY
ABH
""'
ADA
"-'
ALL
ABB
WARNING
FAILURE TO FOLLOW THESE WARNINGS MAY RESULT IN
SERIOUS INJURY AND/OR PROPERTY DAMAGE.
Owners PXst ensure that all players know andIollow these
ruleVIor saIe operation oIWhe systHP.
yOnly hang IURP the ULP EULHÀ\ to regain EDODQce or avoid injuring
others. Release the ULP as soon as saIely possLEOH.
yDuring play, especially when perIRUPLQJ dunk type activities, keep
player’s IDFH away IroP the EDFNERDrd, riP, and net. Serious injury
could occur iI teethIace cRPH in contact with the EDckERDUG, ULP,
or net. Player should wear a PRXth guard during play.
yDo not slide, cOLPE, or play on EDse or pole.
y .snoitcurtsni srerutcaIunaP ot gnidrocca esaE ll¿ yletelpPoC
Never leave the unit standing in an upright position without ¿rst
¿lling the
ED
se with weight or the systHP will tip quickly causing
serious personal injury.
yWhen adjusting height or PRving systHP, keep hands and ¿ngers
awa\IURP PRving parts.
yDo not allow children to PRve or adjust systHP.
yDo not wear jewelry (rings, watches, necklaces, etc.) during play.
OEMHcts PDy entangle in net.
yKeep organic PDterial away IURP pole EDse. Grass, litter, etc. could
cause corrosion and/or deterioration.
ySurIace EHQHDth the EDse PXst EH sPRRth and Iree oI gravel or
other REMHcts. Punctures cause leakage and could cause systeP
to tip over.
yOnce a PRQth check pole and all PHtal parts Ior signs oI corrosion
(rust, pitting, chipping). &RPSOHtely UHPRve rust and repaint with
exterior HQDPHO. ,I rust has penetrated any steel part, replace that
part LPPHGLDtely.
yCheck systHP EHIore each use Ior proper EDOODst, loose hardware,
excessive wear, insWDELOLWy, and signs RI corrosion and repair
EHIore use.
yNever play on GDPDJHG HTXLSPHQt.
yDo not use systHP during windy or severe weather. SystHP PDy
tip over. Place systHP in an area protected IURP the wind or in an
area away IURP property that PDy EH GDPDJHG iI
the systHP Ialls,
andIURP overhead power lines.
y Do not use the systHP to liIW or hoist anything. The PH
chanisP is
designed to liIW only the weight oI the EDckERDUG and ULP. Do not
hang anything IURP the handle, ULP EDckERDUG, or liIWer DUPs as
this will GDPDJH the systHP and void the warranty.

Related product manuals