EasyManua.ls Logo

Lifton LP 8 E - Parts Identification

Default Icon
27 pages
Print Icon
To Next Page IconTo Next Page
To Next Page IconTo Next Page
To Previous Page IconTo Previous Page
To Previous Page IconTo Previous Page
Loading...
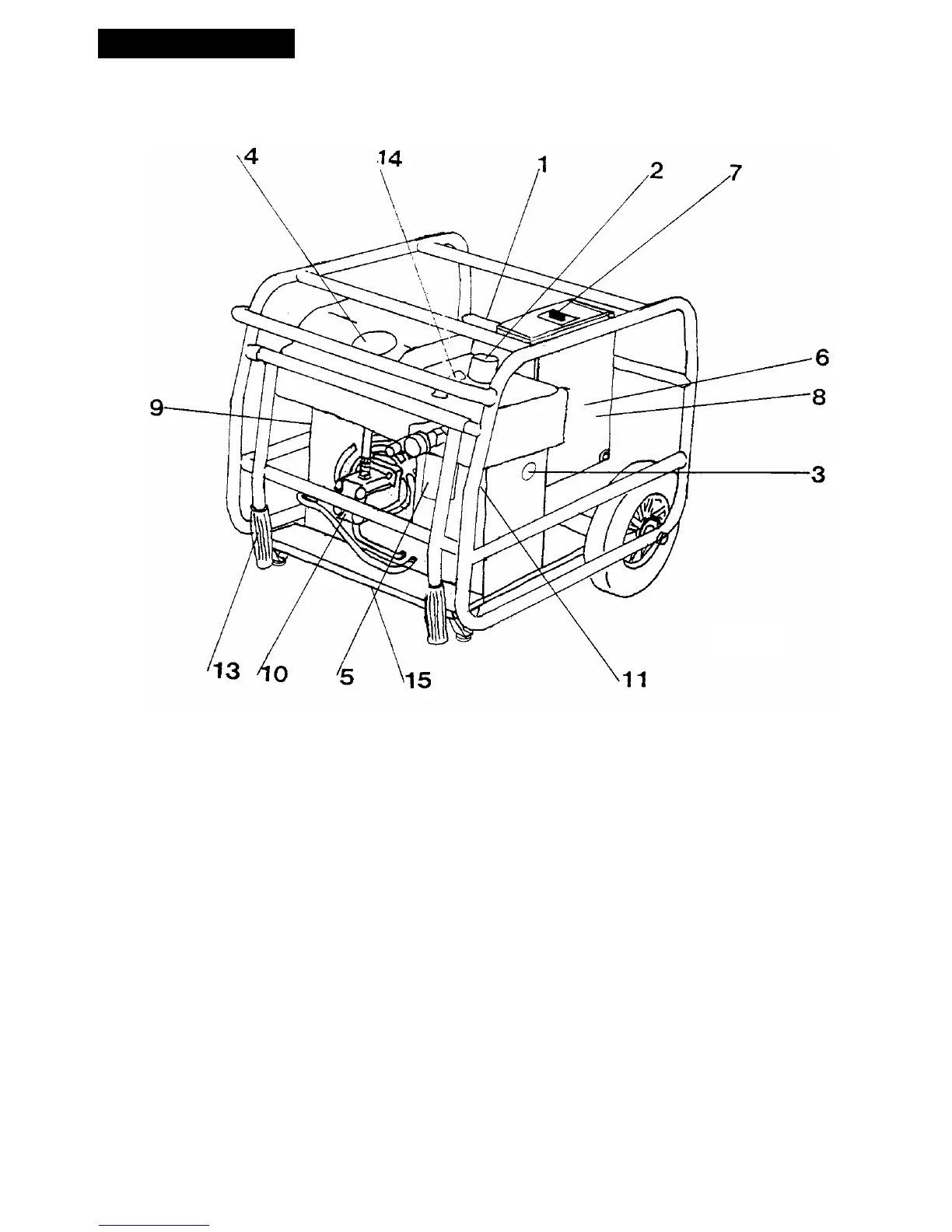
Parts Identification
(1) Electric motor (8) Thermal relay
(2) Filler cap, hydraulic oil (9) Oil cooler
(3) Sight glass, hydraulic oil level (10) Pump
(4) Filter condition gauge (11) Pressure relief valve
(5) Hydraulic oil filter (13) Foldable handles
(6) Electro-box (14) By-pass valve
(7) Starting switch 0, 1 and 2 (15) Hydraulic oil drain
513