EasyManua.ls Logo

Linear Series LS7000 - Antenna Connections; Antenna Input Options

Default Icon
11 pages
Print Icon
To Next Page IconTo Next Page
To Next Page IconTo Next Page
To Previous Page IconTo Previous Page
To Previous Page IconTo Previous Page
Loading...
8
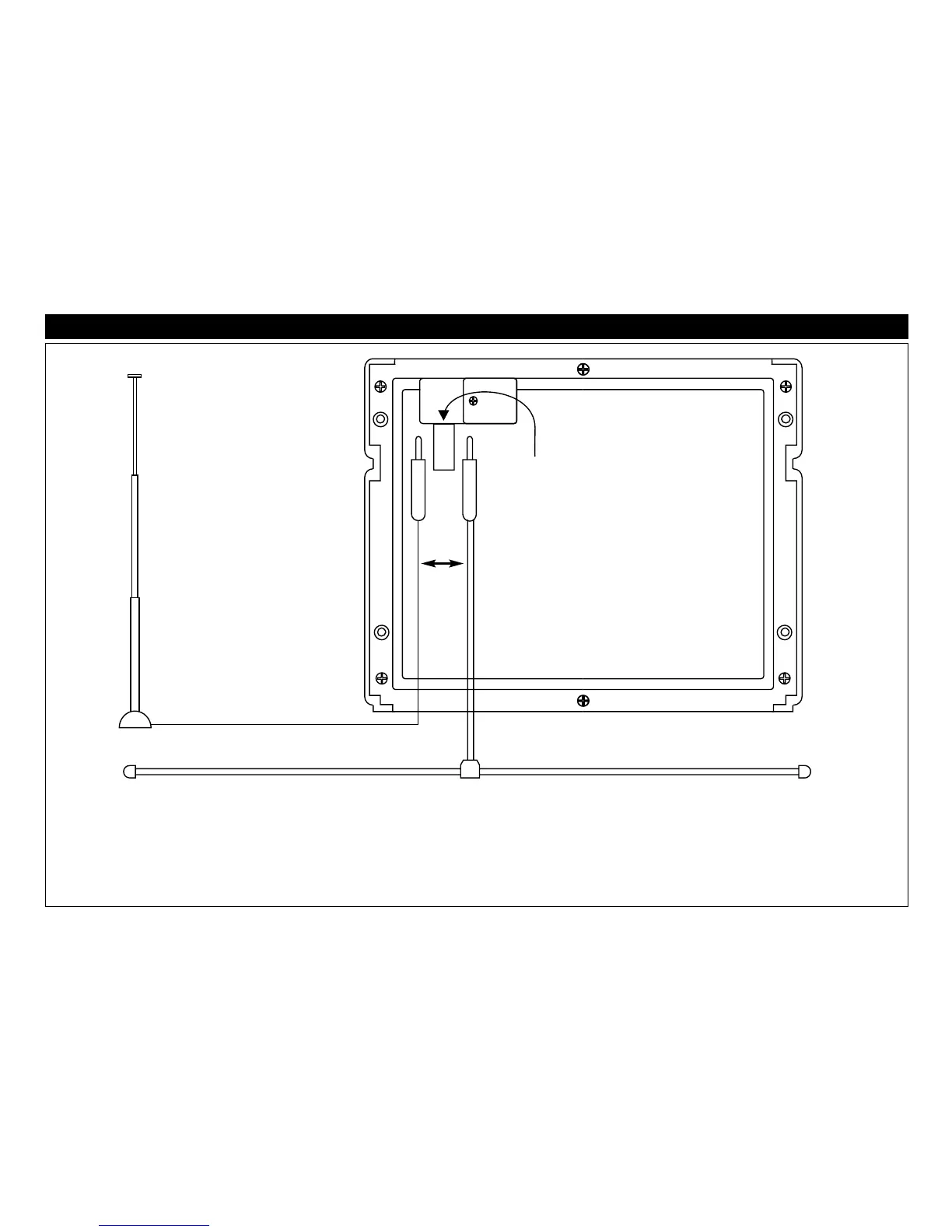
ANTENNA CONNECTIONS
External Automotive
Type Antenna (Not Provided)
External Automotive
Type Antenna Socket
DP36AXT In-Wall Antenna (Not Provided)
Either
or
The LS7000 has a provision for a standard automotive
antenna. If an automotive antenna is used, plug the male
plug from the antenna into the female receptacle provided
on the unit.
If an automotive antenna is not available or is undesired, we
recommend the use of a Magnadyne DP36AXT di-pole
antenna substitute. Plug the male plug from the DP36AXT
into the female receptacle of the LS7000 unit and allow the
cable of the antenna to lay inside the wall.
LS7000 1-20-95 8/5/02 10:09 AM Page 8