EasyManua.ls Logo

LISICKI Z-178 - Mower adjustment rules

LISICKI Z-178
49 pages
Print Icon
To Next Page IconTo Next Page
To Next Page IconTo Next Page
To Previous Page IconTo Previous Page
To Previous Page IconTo Previous Page
Loading...
11
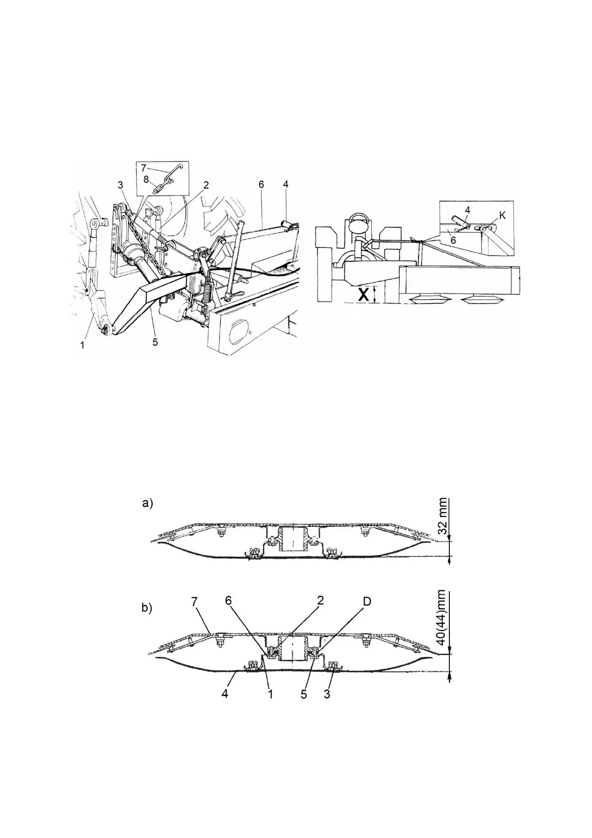
6.6. Mower adjustment rules
After the mower is moved to working position, lower it so sliding discs on working drums touch
the ground. Sliding discs should be parallel to the ground, whereas linkage frame should be positioned
at such height from the ground so distance “X” (Fig. 11) is about 0.3 m, and mandrel (K) is in the
middle position of oblong opening in the link (6). Adjustments are carried out using upper connector (3)
and right hanger (2) on tractor linkage (Fig. 12).
Fig. 11. Mower in correct position for operation: 1 - tractor lower link, 2 - hanger, 3 - upper
connector, 4 - latch, 5 - linkage frame, 6 - tension member, 7 - chain hook, 8 - chain.
At the same time in order to ensure correct operation, linkage frame should maintain this position
(determined as described above) throughout the operation. Thus use chain (8) (Fig. 11) which prevents
mower linkage frame from falling. The chain is mounted to transport hitch or its bracket.
The mower can be adjusted to mowing height 32 mm (low), and 40 or 44 mm (medium). The
mower is factory-set to mowing height 32 mm.
Mowing height is adjusted (Fig. 12) using spacer ring (D) which is mounted on working drum
between hub (2) and resistance disc (1).
Fig. 12. Using various mowing heights: a) - low 32 mm (without spacer ring D, b) - medium 40 mm
with mounted spacer ring D of 8 mm in thickness or (44 mm) with mounted spacer ring D of
12 mm in thickness; 1 - resistance disc, 2 - hub, 3 - special bolt M12 x 25, 4 - sliding disc, 5 -
bolt M10 x 30, 6 - tab washer, 7 - resistance disc.