EasyManua.ls Logo

LISICKI Z-178 - Page 43

LISICKI Z-178
49 pages
Print Icon
To Next Page IconTo Next Page
To Next Page IconTo Next Page
To Previous Page IconTo Previous Page
To Previous Page IconTo Previous Page
Loading...
40
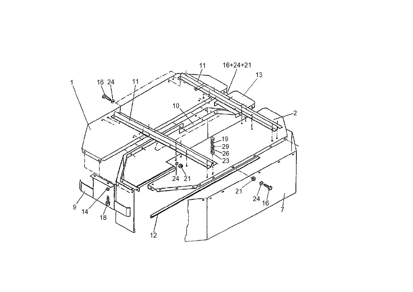
Figure K7. Metal cover set.