EasyManua.ls Logo

Listo BCL 5 - Operating Modes; Weight Measurement Mode; Volume Measurement Mode

Listo BCL 5
Print Icon
To Next Page IconTo Next Page
To Next Page IconTo Next Page
To Previous Page IconTo Previous Page
To Previous Page IconTo Previous Page
Loading...
Weight mode
Place the ingredient
on the scale
Volume mode
Place recipient
on scale
Pour in the liquid
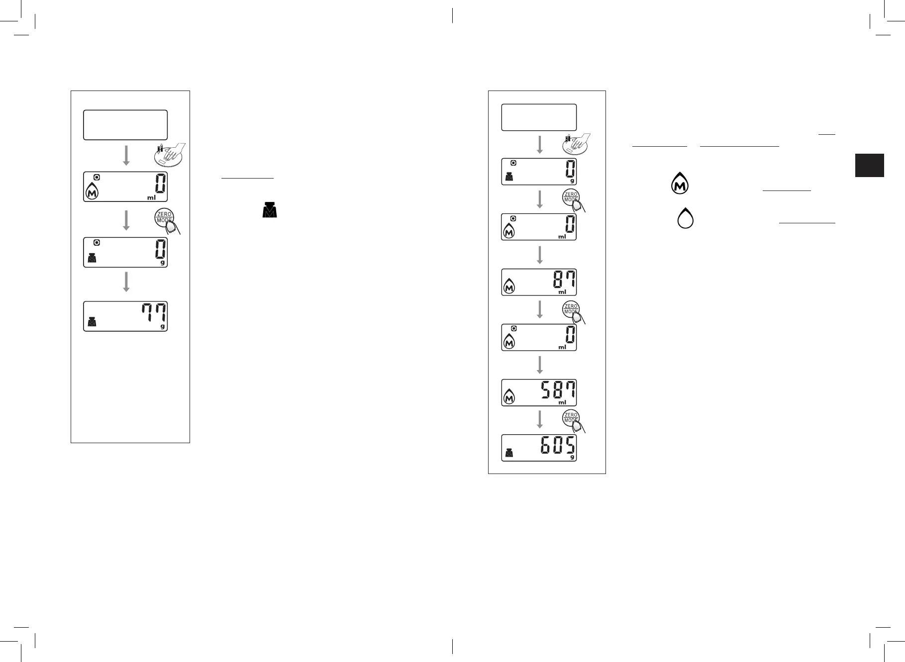
First, place the scale on a at and stable surface.
Place the recipient on the scale if needed.
Press lightly on the scale. It should turn on. Wait
until the screen shows “0”.
Press the ZERO/MODE button to switch to
weight mode if necessary.
Comment:
The logo indicates that the weight mode is
activated.
Place the ingredients in the recipient or on the
scale if there is no recipient. The screen displays
the weight.
First, place the scale on a at and stable surface.
Press lightly on the scale. It should turn on. Wait
until the screen shows “0”.
Press the ZERO/MODE button to switch to milk
volume mode or water volume mode if necessary.
Comment:
The logo indicates that the milk volume mode
is activated.
The logo indicates that the water volume
mode is activated.
Pour the liquid (water or milk) into the recipient.
The screen displays the volume.
If necessary, press the ZERO/MODE button to
display the weight.
EN
17
V.1.0V.1.0
16