EasyManua.ls Logo

Logik L22FED12 - DTV Manual Tuning; ATV Manual Tuning

Logik L22FED12
68 pages
Print Icon
To Next Page IconTo Next Page
To Next Page IconTo Next Page
To Previous Page IconTo Previous Page
To Previous Page IconTo Previous Page
Loading...
21
GB
Customising TV Settings
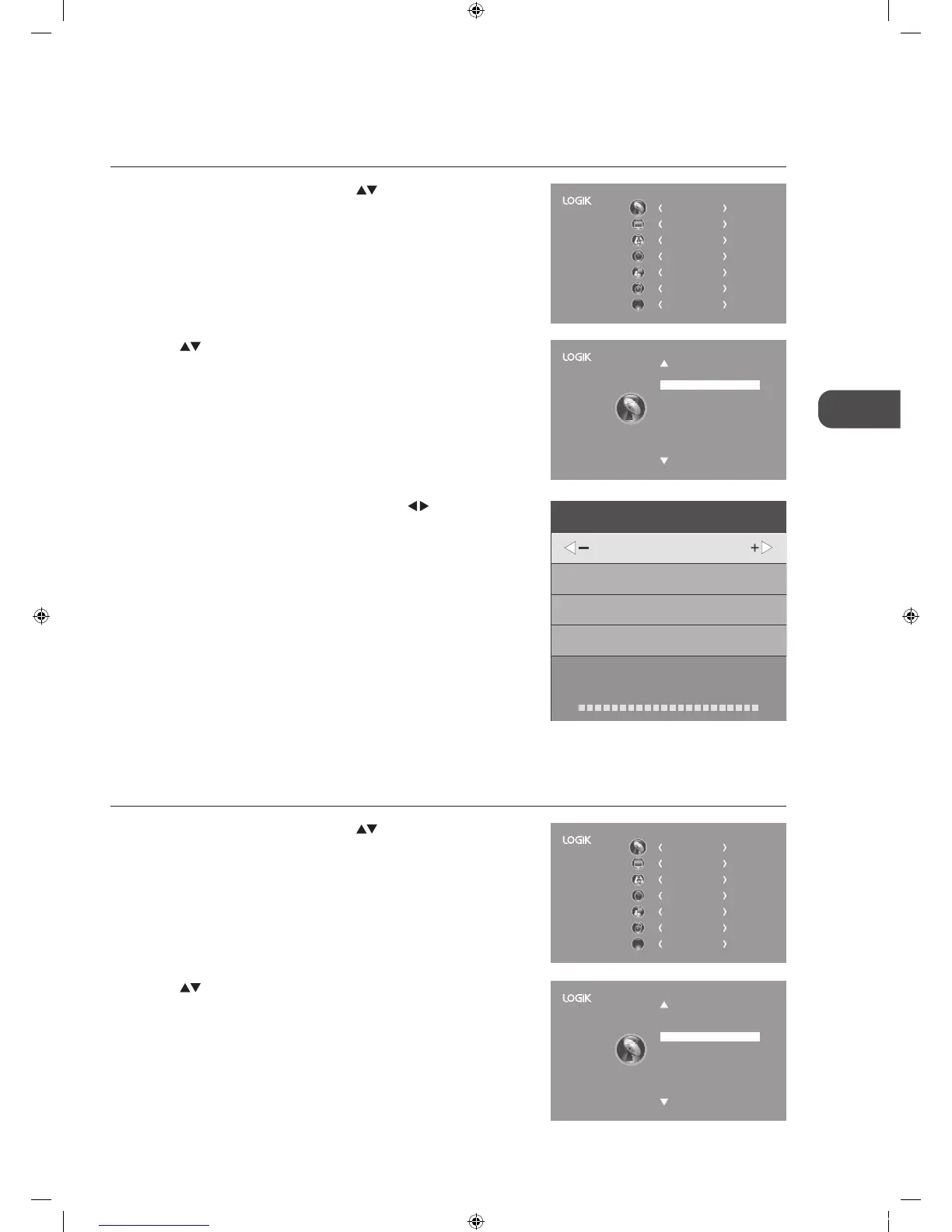
3. The DTV Manual Tuning screen will pop up. Press the buttons
to select the desired UHF channel and then press the OK button to
commence the search of that channel. When the signal has been tuned,
the picture and signal strength will be displayed on the screen.
4. Press the MENU button to return to the main menu.
5. Press the EXIT button to exit the menu.
2. Press the
buttons to select DTV Manual Tuning and then press the
OK button.
DTV Manual Tuning
Allows you to make manual fine tuning adjustments to the channel under DTV mode.
1. Press the MENU button and then press the
buttons to select the
CHANNEL menu and then press the OK button.
CHANNEL
PICTURE
SOUND
TIME
OPTION
LOCK
EXIT
EXIT
Auto Tuning
DTV Manual Tuning
ATV Manual Tuning
Signal Information
CI Information
Software Update(OAD)Off
Software Update(USB)
Channel Edit
DTV Manual Tuning
UHF CH 5
Bad Nomal Good
Press OK to search
2. Press the buttons to select ATV Manual Tuning and then press the
OK button.
CHANNEL
PICTURE
SOUND
TIME
OPTION
LOCK
EXIT
EXIT
Auto Tuning
DTV Manual Tuning
ATV Manual Tuning
Signal Information
CI Information
Software Update(OAD)Off
Software Update(USB)
Channel Edit
ATV Manual Tuning
Allows you to make manual fine tuning adjustments if the channel reception is poor under ATV mode.
1. Press the MENU button and then press the
buttons to select the
CHANNEL menu and then press the OK button.
L22_24FED12_IB_120309_Annie.indd 21 12年3月9日 下午9:38

Table of Contents

Related product manuals