EasyManua.ls Logo

Logosol B1001 G2 - 3 Adjust the lengthwise position of the blade

Logosol B1001 G2
56 pages
Print Icon
To Next Page IconTo Next Page
To Next Page IconTo Next Page
To Previous Page IconTo Previous Page
To Previous Page IconTo Previous Page
Loading...
33
B1001
3
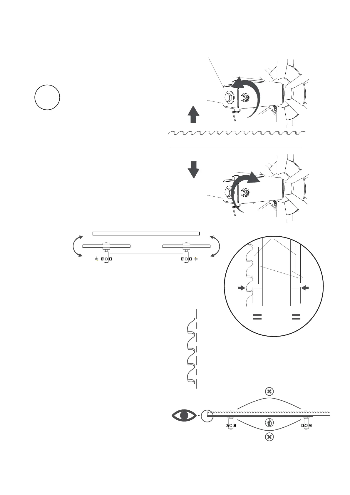
The lengthwise position of the blade is adjusted by
the adjusting bolts that is positioned horizontally,
i.e. the bolts situated on the outside of the shaft
mountings. Before adjusting, the lock nut has to be
opened. If the blade moves outwards on the wheels,
turn the adjusting bolt clockwise to compensate.
If the blade moves inwards, turn the bolt
counterclockwise. Adjust in small steps. Tighten all
lock nuts and adjusting screws after the adjustment.
TIP! You may need to loosen the adjusting bolts
slightly on the top side of the shaft mountings before
adjusting the blade.
ADJUST THE LENGTHWISE
POSITION OF THE BLADE
Loosen the lock nut
ORDER OF ADJUSTMENTS
THE LENGTHWISE POSITION OF THE BLADE
The lengthwise position of the blade is crucial
to the sawing result. To ensure the best possible
sawing result, we recommend that the blade body is
positioned centred over the drive belt, which lies in
the groove in the wheel.
In this case, the blade body
refers to the part of the blade
that is between the gullet and
and the back of the blade.
If the blade bends in the direction of the
saw teeth, the blade is positioned too far
forward on the wheels. If it bends in the
other direction, the blade is positioned too
far back.
First, install the blade centred over the drive belt so
that blade body protrudes equally on both sides of
the drvie belt. Then, tighten the blade. Rotate the
wheels manually and check that the lengthwise
position of the blade is unchanged. Rotate the
wheels at least three turns. If the blade moves
outwards or inwards on the wheels, you adjust this
as described on the next page. If the blade runs
straight on both band wheels, then check that the
blade runs in a straigth line between the wheels. You
check this by looking along the back edge of the
blade viewed from the top of the wheels.
When the blade runs in a straight line, close the
wheel guards and start the sawmill. Throttle up to
make the wheels spin, then release the throttle.
Open the wheel guards and check that the
lengthwise position of the blade is unchanged. If this
is the case, the blade is adjusted correctly.
DRIVE BELT
WHEEL
BLADE BODY

Related product manuals