EasyManua.ls Logo

Longvie DV20 - Page 17

Longvie DV20
20 pages
Print Icon
To Next Page IconTo Next Page
To Next Page IconTo Next Page
To Previous Page IconTo Previous Page
To Previous Page IconTo Previous Page
Loading...
USSC 17
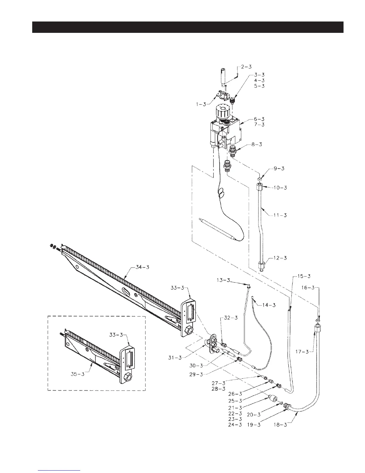
BURNER ASSEMBLY - REPAIR PARTS

Other manuals for Longvie DV20