EasyManua.ls Logo

LU-VE FHD 832-4 - Collector and Distributor Connections; Suction and Liquid Line Connections

Default Icon
12 pages
Print Icon
To Next Page IconTo Next Page
To Next Page IconTo Next Page
To Previous Page IconTo Previous Page
To Previous Page IconTo Previous Page
Loading...
5
Avant de procéder aux raccordements des
collecteurs/distributeurs, est obligatoire de s’assurer que le
circuit d’alimentation est fermé (absence de pression).
Ouvrir l’égouttoir
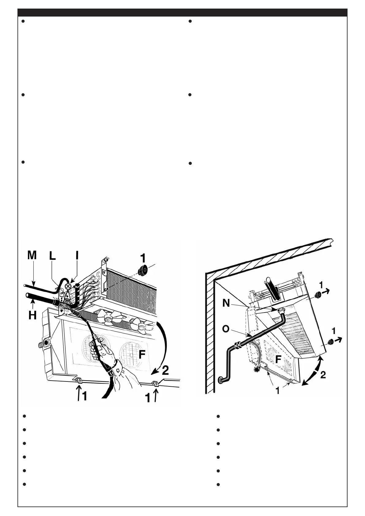
(F) - (1 - 2). Sont à raccorder: Fig. 1
La ligne d’aspiration (H); la valve thermostatique (I) au distributeur (L), la ligne
liquide (M) à côté de la ligne d’aspiration.
Contrôler la pression (Te, Fig. 5); tous les évaporateurs sont équipés avec une
valve shrader sur le tube d’aspiration pour mesurer si la pression d’aspiration
est bien conforme.
Le tube d’écoulement d’eau (O) après avoir refermé l’égouttoir (F) Fig. 2.
Prima di procedere ai collegamenti dei collettori/distributori, è
obbligatorio assicurarsi che il circuito d’alimentazione sia
chiuso (assenza di pressione).
Aprire le bacinelle (F) - (1 - 2).
Sono da collegare: Fig. 1
La linea di aspirazione (H), la valvola termostatica (I) al distributore (L), la linea
del liquido (M), accostandola alla linea di aspirazione.
Il manometro per la verifica (Te, Fig. 5); gli apparecchi sono muniti di apposita
valvola per attacco del manometro.
Il tubo di scarico dell’acqua (O) all’attacco (N) dopo aver chiuso la bacinella (F)
Fig. 2.
Before to proceed with the collectors/distributors connections it
is mandatory to comply as follows make sure the supply circuit is
closed (no pressure).
Open the drain pan (F) - (1 - 2).
To connect: Fig. 1
The suction line (H), the thermostatic valve (I) to distributor (L), the liquid line
(M) to put it near the suction line.
Pressure check (Te, Fig.5); all units are fitted with a shrader valve on the suc-
tion pipe, so that the suction pressure can be measured for correct operation.
The water drain tubing connection (O) after drain pan is closed (F) Fig. 2.
Durante l’operazione di saldatura, assicurarsi di indirizzare la fiamma in modo da non
investire la macchina (eventualmente interporre una protezione).
When performing welding operations, make sure the flame nozzle is not aimed
toward the equipment (insert a shield of required).
Durant la soudure, de veiller à diriger la flamme de façon à ne pas toucher la machine
(éventuellement, il conviendra de placer une protection devant la machine).
Beim Schweißen die Flamme so ausrichten, daß die Maschine nicht getroffen wird
(eventuell mit einem Schutz versehen).
Durante la operación de soldadura, asegurarse de dirigir la llama de manera que no
se dañe la máquina (interponer, si fuera necesario, una protección).
о время проведения пайки, следует направлять пламя таким образом,
чтобы избежать повреждений изделия (использовать средства
индивидуальной защиты).
Antes de proceder a la realización de las conexiones entre
colectores/distribuidores, es obligatorio Asegurarse de que el
circuito de alimentación esté cerrado (ausencia de presión).
Abrir la cubeta de secado (F) - (1 - 2).
Se tienen que conectar: Fig. 1
La línea de aspiración (H); la válvula termostática (I) al distribuidor (L), la línea
líquida (M) se encontrará junto a la línea de aspiración.
El manómetro de control (Te, Fig. 5; todos los evaporadores están equipados
de una válvula de enganche para el manómetro.
El tubo de descarga de agua (O) al enganche (N) después de haber cerrado la
cubeta de secado (F) Fig.2.
Перед подсоединением коллектора/распределителя,
необходимо Удостовериться в том, что контур закрыт
(давление в системе отсутствует).
открыть поддон (F) - (1 - 2).
ледует производить подсоединения: Fig. 1
иния нагнетания (H), ермостатический вентиль () (I) к
распределителю (L), жидкостная линия (M), подсоединение на линии
всасывания.
онтрольный манометр (Te, Fig 5);изделия имеют штуцер,
предназначенный для подключения манометра.
ливной коллектор для воды (O) к штуцеру (N) после подсоединения
поддона (F)Fig.2.
Vor Anschluss der Sammelrohre/Verteilerrohre müssen
folgende Vorschriften eingehalten werden Sicherstellen, daß der
Speisungskreis geschlossen ist (klein Druck).
Tropfschale (F) - (1 - 2).
Es sind anzuschliessen: Fig. 1
Die Saugleitung (H), das thermostatische Einspritzventil (I) auf den Mehrfa-
chverteiler (L), die Flüssigkeitsleitung (M) zusammengeführt mit der Sauglei-
tung.
Prüfmanometer (Te, Fig.5); Die Verdampfer sind mit einem Schraderventil au-
sgestattet, wo ein Prüfmanometer angeschlossen werden kann. Zuletzt sind die
Seitenteile wieder zu montieren.
Tropfwasserablauf (O) montieren nach dem die Tropfshale (F) geschlossen
wurde Fig.2.
COLLEGAMENTI / CONNECTIONS / RACCORDEMENTS / ANSCHLÜSSE / CONEXIONES / ПОДСОЕДИНЕНИЯ
Fig. 1
Fig. 2
Per l’applicazione della pompa automatica dello scarico
acqua vedi figure a pag.10.
For the application of the automatic pump of water
discharge see fig. page 10.
Pour l’application de la pompe automatique d’écoulement
eau voir fig. page10..
Zur Anbringung der automatischen Wasserablass-Pumpe
siehe Abbildungen auf Seite 10.
Para la aplicación de la bomba automatica de descarga
agua ver figura en la pag.10.
рименение автоматического насоса в сливе воды см рис.
тр 10.

Related product manuals