EasyManua.ls Logo

Luma MF26B 26 - Step 2: Installing the Water Pump

Default Icon
15 pages
Print Icon
To Next Page IconTo Next Page
To Next Page IconTo Next Page
To Previous Page IconTo Previous Page
To Previous Page IconTo Previous Page
Loading...
3
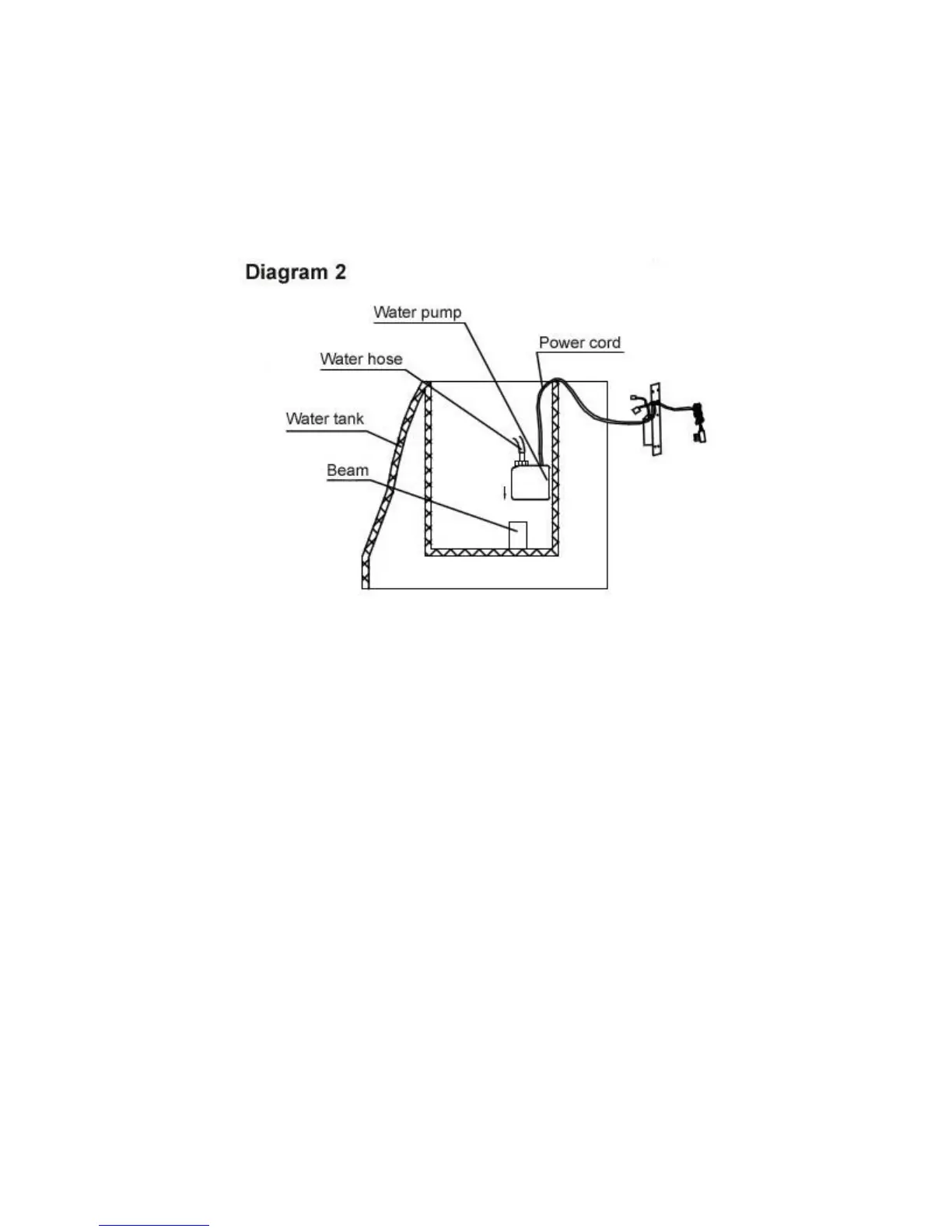
Step 2: Installing the Water Pump
a. Refer to diagram 2. Remove the water pump from the packaging, making sure not to pull it out by
the power cord. The water pump will be attached to a metal panel.
b. Position the water pump in an upright position and place it on the plastic beam located at the
bottom of the water tank. A small portion of the power cord will be submerged in the tank, but
most of it should be placed outside the water tank.

Related product manuals