EasyManua.ls Logo

Lust CDA3000 - Terminal Assignment 2

Lust CDA3000
72 pages
Print Icon
To Next Page IconTo Next Page
To Next Page IconTo Next Page
To Previous Page IconTo Previous Page
To Previous Page IconTo Previous Page
Loading...
3-14
CDA3000 Operation Manual
3 Electrical installation
3.7.4 Terminal
assignment 2
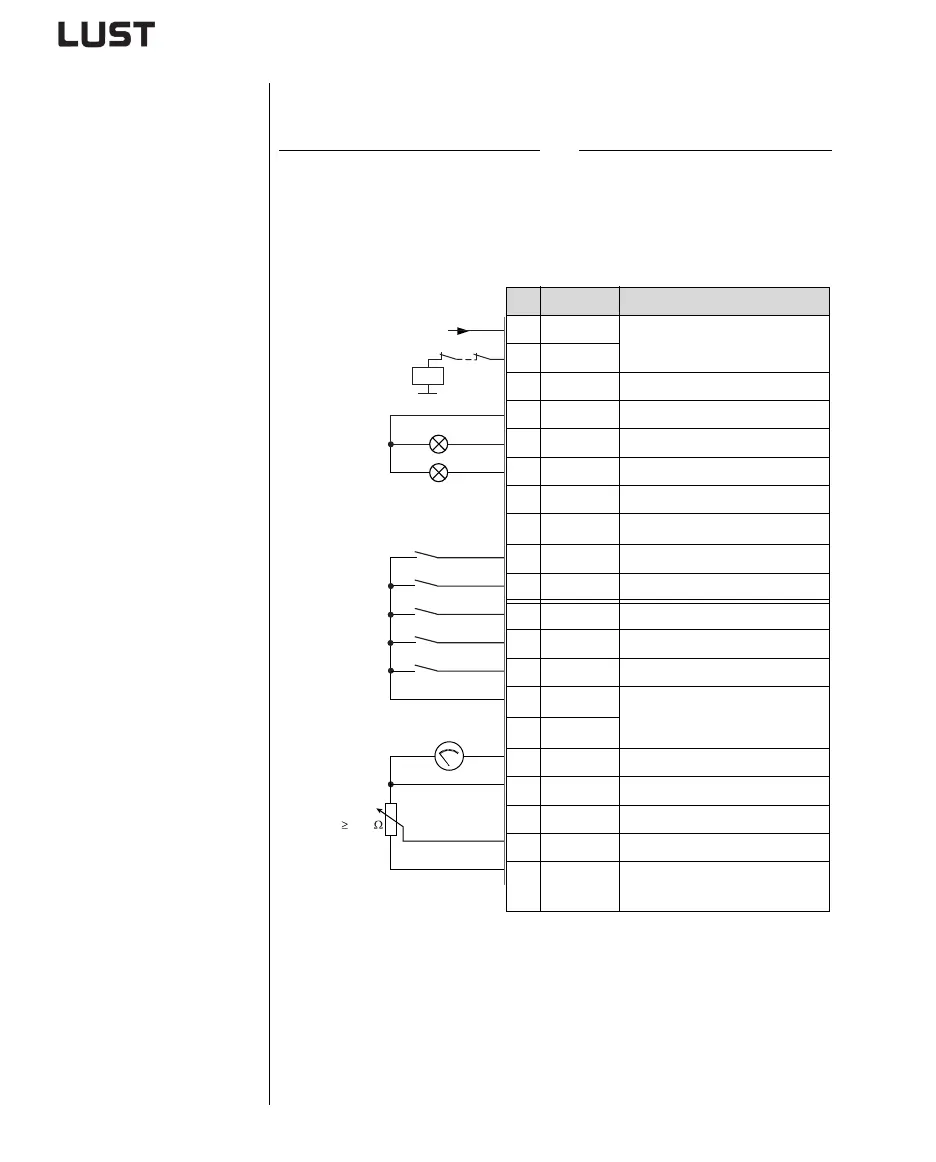
Figure 3.8 Control terminal assignment, rotational drive without encoder
evaluation
Features Parameters
Analog speed input with two
directions of rotation
Speed correction via buttons
(MOP function)
152-ASTER = ROT_1
X2 Des. Function
20 OSD02/14
Relay contact (break)
for “Ready” message
19 OSD02/11
18 OSD02/12 Relay contact (make)
17 DGND Digital ground
16 OSD01 “Reference reached” message
15 OSD00 “Standstill” message
14 DGND Digital ground
13
U
V
Auxiliary voltage 24 V
12 ISD03 Reduce speed
11 ISD02 Increase speed
10 ISD01
Start/Stop quick jog counter-clockwise
9 ISD00 Start/Stop quick jog clockwise
8 ENPO Power stage hardware enable
7
U
V
Auxiliary voltage 24 V
6
U
V
5 OSA00 Actual frequency 0 ... FMAX
4 AGND Analog ground
3 ISA01 not assigned
2 ISA00 Reference 0 V ...1 + 10 V
1
U
R
Reference voltage 10 V, 10 mA
+24V
H11
H12
ENPO
S2
STL
STR
S1
N1
K2
-
+
0 ... 10 V
R1
10 k

Other manuals for Lust CDA3000

Related product manuals