EasyManua.ls Logo

mabe MMI18CDBWCCC8 - Page 36

mabe MMI18CDBWCCC8
Print Icon
To Next Page IconTo Next Page
To Next Page IconTo Next Page
To Previous Page IconTo Previous Page
To Previous Page IconTo Previous Page
Loading...
36
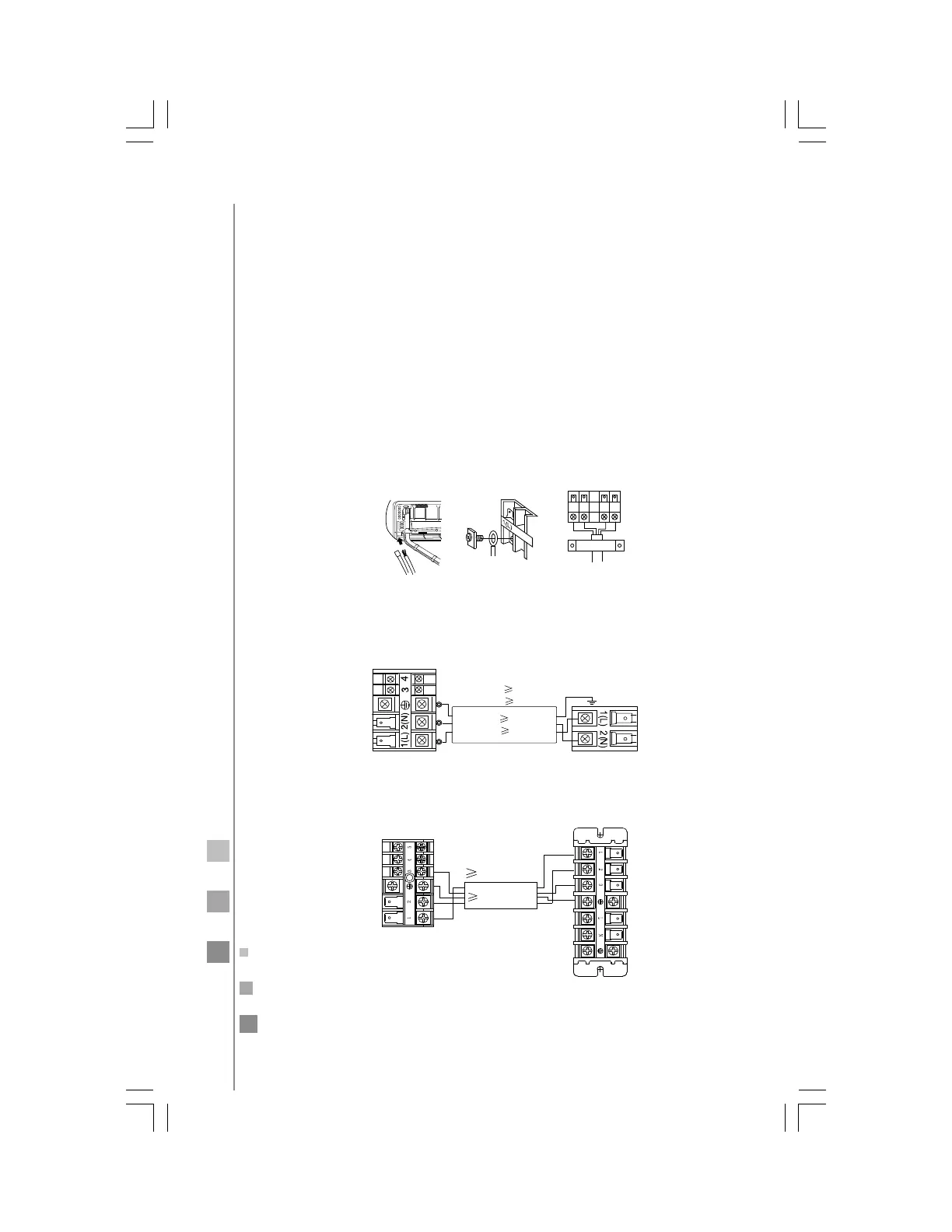
Unidad interna Unidad externa
Cordón eléctrico
-mod 07-12 3G1.0 mm²
-mod 18 3G2.5 mm²
-mod 07-12 3G1.0 mm²
-mod 18 3G2.5 mm²
Unidad interna
Unidad externa
Cordón eléctrico:
3G2.5 mm²
4G0.75 mm²
conexión de los cables de las unidades interna y
externa
1. Retire la cubierta de la caja de terminales que se encuentra en la
esquina derecha inferior de la unidad interna. Retire la cubierta
del cableado removiendo los tornillos que la fijan.
2. Introduzca el cable por el lado izquierdo del agujero en la pared
por el que ya pasa la tubería.
3. Jale el cable por el lado frontal y conéctelo formando un rizo.
4. Introduzca los cables por la parte trasera de la unidad y jálelos
por la parte frontal.
5. Afloje los tornillos e inserte firmemente los extremos de los cables
dentro del bloque de terminales. Apriete los tornillos.
6. Jale ligeramente cada uno de los cables para asegurarse de que
han sido instalados apropiadamente.
7. Una vez conectados los cables, no deje de apretar el cable conec-
tado con la cubierta para cable.
NOTA: Cuando conecte los cables, confirme los números de las ter-
minales de las unidades interna y externa. Si las conexiones no son
las correctas, el sistema no operará apropiadamente y además po-
dría dañarse.
En los sistemas de 9 000 BTU/h, 12 000 BTU/h, 18 000 BTU/h y algu-
nos de 24 000 BTU/h
En algunos sistemas de 24 000 BTU/h
NOTA: Verifique el diagrama eléctrico particular para cada modelo.

Other manuals for mabe MMI18CDBWCCC8

Related product manuals