EasyManua.ls Logo

Macurco TX-6-AM - Mettre en Marche; Opération

Macurco TX-6-AM
72 pages
Print Icon
To Next Page IconTo Next Page
To Next Page IconTo Next Page
To Previous Page IconTo Previous Page
To Previous Page IconTo Previous Page
Loading...
11
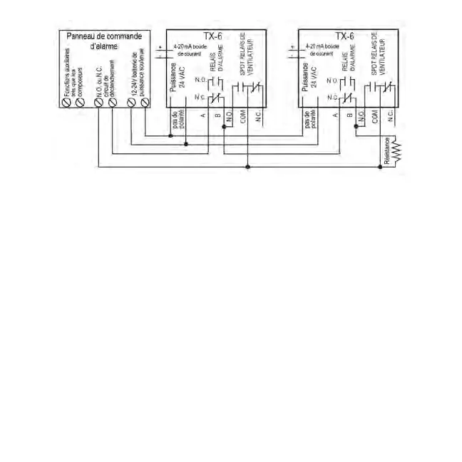
Dans cette application (ci-dessous), le ventilateur ou le relais primaire est utilisé comme un relais d'alarme de bas niveau. Le relais
d'alarme ou secondaire est utilisée dans la configuration normalement fermée d'un relais de surveillance. Les détecteurs fonctions
critiques sont tous contrôlés par le diagnostic de logiciels qui testent en permanence et vérifier son fonctionnement. Si un problème est
détecté, l'appareil passe en mode de trouble. Dans ce mode de trouble ou d'erreur, du relais d'alarme seront activés et le détecteur
clignote le code d'erreur indiquant l'état de la difficulté au niveau du détecteur et le panneau de commande. Dans le cas d'une perte de
puissance au niveau du détecteur, l'alarme ou relais secondaire utilisé dans la configuration normalement fermée changent d'état
indiquant l'état de la trouble à le panneau de commande.
Mettre en marche
Les TX-6-AM cycles par un cycle d'auto-test interne pour la première minute qu'il est alimenté. L'unité exécutera le cycle d'essai en
tout temps pouvoir est tombé et rallumé (c.-à-panne de courant). Pendant le cycle d'auto-test, l'appareil affiche le numéro de version
du firmware, puis compte à rebours de 60 à 0 (si le réglage de l'affichage est "On") et enfin aller en onctionnement normal. Le relais
d'alarme est activé pour 10 secondes et le relais du ventilateur pendant 60 secondes pendant le cycle de mise sous tension à moins
que l'option "Power Up Test" (option de vente) est sur OFF. L’indicateur (LED) clignote en vert pendant le cycle d'auto-test. A la fin du
cycle d'une minute, l'appareil aura son premier échantillon de l'air et lindicateur devient vert..
Opération
1. Avec la fonction d'affichage réglé sur "On", le TX-6-AM affiche la concentration actuelle de NH3 ppm ou "0" (zéro) dans l'air.
Lorsque la concentration de NH3 atteint le réglage du relais de ventilateur (25 ppm, par exemple), l'affichage clignote entre "Fan"
et "25". Avec la fonction d'affichage en position "Off", l'écran n'affiche pas la concentration de NH3, mais montrera "Fan" aussi
longtemps que le relais du ventilateur est activé.
2. Avec la fonction d'affichage réglé sur "On" et la concentration de NH3 atteindre le réglage de relais d'alarme, (50 ppm, par
exemple) l’affichage clignote entre "ALr" et "50". Le signal sonore retentit indiquant "Alarme" si la sonnerie est réglé sur "On". Avec
la fonction d'affichage éteint l'écran n'affiche pas la concentration de NH3, mais affiche "ALr" lorsque le relais d'alarme est activé.

Other manuals for Macurco TX-6-AM

Related product manuals